Дипломная работа: Устройство измерения отношения двух напряжений
Дипломная работа: Устройство измерения отношения двух напряжений
СОДЕРЖАНИЕ
Содержание…………………………………………………………………….………………….
Введение…………………………………………………………………………………….……..
Innroduction…………………………………………………………………………………………
1 Обзор методов построения измерителей отношения………………………………..….
1.1 Анализ
требований технического задания………………………………………….
1.2 Методы измерения
отношения……………………………………….………………
1.2.1 Мостовой метод…………………………………………………………….……
1.2.2 Логарифмический метод……………………….……………………….………
1.2.3 Применение АРУ для нахождения отношения
напряжений…………..…
1.2.4 Разносный метод нахождения отношения напряжения……………..……
1.2.5 Цифровой метод измерения
отношения………………………….………...
1.3 Методы построения усилителей
постоянного тока………………………………..
1.3.1 Дрейф нуля в усилителях постоянного
тока…………………………………
1.3.2 Стабилизация точки покоя в
транзисторных каскадах………………..…..
1.3.3 Дифференциальные каскады……………………………………………………
1.3.3 Усилители
постоянного тока с преобразованием частоты
усиливаемых
сигналов………………………………………………….………
1.4 Выводы…………………………………………………………………………………....
2 Разработка принципов
построения измерителя отношений………………………….…
2.1 Функциональная
схема………………………………………………………………….
2.2 Выбор типа
микропроцессора………………………………………………………….
2.3 Оценка погрешности
измерения отношения……………………………………..…
3 Разработка и расчет
узлов принципиальной схемы……………………………………..
3.1 Коммутатор
сигналов………...………………………………………………………….
3.2 Предварительный
усилитель…………………………………………………………..
3.3 Усилитель с
управляемым коэффициентом передачи…………………………...
3.4 Фильтр нижних частот……………………………………………………………….…..
3.5 Цифровой фильтр………………………………………………………………………..
3.6 Дискретное преобразование Фурье….……………………………………………...…
4
Конструкторско-технологический раздел
………………………………………………....
4.1Анализ условий проектирования………...………………………………………..……
4.2 Выбор общей компоновки
разрабатываемого устройства ………………………
4.3 Выбор параметров печатного монтажа
блока аналоговой обработки …………
4.4 Разработка конструкции корпуса ………………………………………………..……
4.5 Выбор системы амортизации ………………………………………………………....
4.6 Расчет показателей надежности
………………………………….………………..…
4.7 Разработка технологии сборки
печатного узла………………………………..……
5 Технико–экономическое
обоснование
…………………………………………….……….. .
5.1 Маркетинговые исследования
………………………………………………………….
5.2 Расчет капитальных и
текущих затрат, связанных с разработкой
и изготовлением
изделия ………….…………………………………………………….
5.3 Формирование цены
………………………………………..…………………………...
5.4 Расчет затрат при
эксплуатации устройства измерения отношения напряжений на основе
микропроцессорного вычислителя…………………..…..
5.5 Определение экономической эффективности ..…………………………………….
6 Охрана труда и окружающей
среды ……………………………………….…….…………. .
6.1 Анализ условий труда
при производстве устройства измерения
отношения напряжений на
основе микропроцессора.……………………….………….
6.1.1
Освещение………………………….…………………………………………..
6.1.2 Шум и
вибрация………………………………….…………………………….
6.1.3
Пожаробезопасность………………………………….………………………
6.1.4 Метеорологические
условия……………….………………………………..
6.1.5 Эргономика и
техническая эстетика…………..……………………………
6.1.6
Электробезопасность……………………………..…………………………..
6.2 Расчет зануления
………….………………………….………………………………….
6.3 Охрана окружающей
среды……………………………..……..………………….……
7 Гражданская оборона
…………………………………………………….………………….. .
7.1 Оценка устойчивости производства
измерителя отношения
напряжений при загрязнении
радиоактивными веществами после
аварии на АЭС
……………………………………………………………….…………..
Выводы………………………………………………………….…………………………………..
Перечень
ссылок……………………………………………….………………………………….
Приложение………………………………………………………………………………………..
1 ОБЗОР МЕТОДОВ ПОСТРОЕНИЯ ИЗМЕРИТЕЛЕЙ ОТНОШЕНИЯ
1.1 Анализ требований технического задания
В данной работе требуется разработать микропроцессорный измеритель
отношения напряжений, в основном предназначенный для использования в качестве
прецизионного средства измерения при исследовании параметров СВЧ узлов.
Разрабатываемый прибор призван заменить широко используемые для этих целей
приборы В8-6, В8-7, которые в настоящее время морально устарели и их
характеристики уже не обеспечивают современным требованиям. Кроме того
разрабатываемый прибор может найти широкое применение в других областях,
связанных с контролем относительных изменений параметров различных объектов, а
также с контролем параметров технологических процессов.
Приборы В8-6 и В8-7 по своему принципу действия обеспечивают
последовательное измерение отношения. Т.е. на один и тот же вход подается
сначала больший сигнал, измерительный канал калибруется, а затем подается
второй сигнал и только после этого измеряется отношение. Разрабатываемый
прибор, в отличие от вышеуказанных, по своему принципу действия должен
обеспечивать параллельное измерение отношения. Это значит, что у него должно
быть предусмотрено два входа, на которые будут подаваться одновременно оба сигнала.
При этом измерение отношения будет проводиться в автоматическом режиме в
реальном масштабе времени. Такой подход позволяет увеличить производительность
измерений и исключить процедуру калибровки при каждом измерении без потери
точности.
В соответствии с техническим заданием разрабатываемый прибор
должен обладать широким диапазоном измеряемых отношений: 60 дБ. Причем в этом
диапазоне должна обеспечиваться высокая точность измерений. В связи с этим в
работе необходимо рассмотреть различные способы измерения отношений, выбрать
наиболее приемлемый в этом смысле и обеспечить его реализацию на
соответствующей элементной базе.
В соответствии с техническим заданием разрабатываемый прибор
должен обладать широким динамическим диапазоном входных напряжений: 60 дБ. В
связи с этим необходимо провести анализ способов расширения динамического
диапазона входных сигналов, выбрать наиболее приемлемый и осуществить его
реализацию. Последнее можно обеспечить усилителем с управляемым коэффициентом
усиления.
Так как в соответствии с техническим заданием прибор должен
измерять отношение сигналов постоянного напряжения, то в разрабатываемом
приборе необходимо использовать усилитель постоянного тока. Усилителями постоянного тока называют усилители,
усиливающие сколь угодно медленные электрические колебания. Так как усилитель
постоянного тока усиливает как переменную, так и постоянную составляющие
входного сигнала, при отсутствии сигнала на входе усилителя на его выходе
должна отсутствовать как переменная, так и постоянная составляющие напряжения;
в противном случае нарушится пропорциональность между выходным и входным
напряжениями сигнала. Основной проблемой, которую следует решать при
проектировании таких усилителей, – это уменьшение дрейфа нуля. Дрейф нуля,
который присущ этому классу усилителей, может существенно повлиять на
метрологические характеристики разрабатываемого устройства. Поэтому в данной
работе необходимо провести анализ методов построения усилителей постоянного
тока и методов борьбы с дрейфом нуля, выбрать и реализовать вариант,
обеспечивающий требования технического задания.
В соответствии с техническим заданием
минимальная величена входного сигнала Umin=10мкВ.
При таком малом уровне сигнала на ряду с дрейфом нуля негативное влияние на
результат измерения будут оказывать шумы. Поэтому для выполнения требований
технического задания необходимо проанализировать возможные пути шумоподавления,
выбрать и реализовать в проекте наиболее оптимальный вариант.
1.2 Методы измерения отношения
Классификация
измерителей отношения в зависимости от выполняемых функций зависит от вида
входных и выходных преобразователей [1,2]. Основные показатели: динамический
диапазон, погрешность деления и быстродействие, в основном определяются
параметрами делительных схем. Измерители отношения в общем виде можно
классифицировать по выполняемым ими функциям на измерители отношения
электрических и неэлектрических величин. В обоих случаях приборы различаются
только входными преобразователями. Измерители отношения электрических величин по
виду сигнала разделяют на измерители отношения постоянного и переменного тока.
В свою очередь последние делят на импульсные, низкочастотные и высокочастотные.
В зависимости от полосы частот различают узкополосные и широкополосные. Их
также можно разделить по динамическому диапазону и быстродействию. В связи с
этим важно разобраться в свойствах существующих делительных схем с тем, чтобы
для требуемой измерительной задачи выбрать наиболее оптимальную.
1.2.1
Мостовой метод
Простейшая схема
позволяющая найти отношение двух напряжений представляет собой перестраевоемое
сопротивление позволяющее установить баланс моста [1]. Данная схема
представлена на рисунке 1.1.
Рисунок
1.1 - Мостовая схема измерения отношения напряжения
В случае, когда схема сбалансирована,
т. е. измерительный прибор (И) показывает
нуль, будет иметь место равенство [1]:
. (1.1)
После
несложного преобразования получим
. (1.2)
Из формулы
(1.2) видно, что отношение сопротивлений при условии баланса является мерой
измеряемого отношения напряжений. Следовательно, отградуировав переменное
сопротивление соответствующим образом можно определять отношение подаваемых на
схему напряжений путём балансировки схемы.
Однако,
данная схема крайне непроизводительна, т. е. обладает малым быстродействием,
так как требует постоянной балансировки. Дополнительным источником погрешности
служит неточность балансировки, возникающая вследствие усталости оператора.
1.2.2 Логарифмический метод
Существует множество различных методов
нахождения отношения напряжений, которые выполняют операцию деления двух
электрических величин при помощи моделирования промежуточных математических
операций [1]. Характерным примером устройств такого типа являются делительные схемы,
использующие известные из элементарной математики соотношения
; (1.3)
. (1.4)
Логарифмирование
независимых переменных x1 и x2 и последующее вычитание обеспечивают выполнение
операции деления в логарифмическом масштабе.
Логарифмические
делительные схемы различаются в основном видом логарифмического
преобразования, от которого в значительной степени зависят точность,
динамический диапазон и сложность логарифмических делительных схем. Структурная
схема измерителя отношения основанная на
логарифмическом методе представлена на рисунке 1.2.
Рисунок 1.2 – Структурная схема логарифмического
измерителя отношения
В основном
логарифмические схемы предназначены для определения частного от деления двух
постоянных напряжений. Для реализации данного метода можно использовать
логарифмические усилители, цепи, работа которых обоснована на линейно-кусочной
аппроксимации, операционные усилители с нелинейной экспоненциальной обратной
связью.
В качестве экспоненциальных элементов,
выполняющих логарифмическое преобразование сигнала, можно использовать
кремневые p-n переходы. В кремневых диффузионных мезатранзисторах, а также в
транзисторах планарной конструкции коэффициент α не зависит от величины
тока и близок к единице. Если прямое напряжение на
p-n переходе превышает 100 мВ, тогда можно аппроксимировать их вольтамперную
характеристику выражением
, (1.5)
где Iк - ток
коллектора, Iэо – начальный ток эмиттера, α – параметр p-n перехода, Uбэ – напряжение между эмиттером и базой.
Экспоненциальная характеристика сохраняется в интервале изменения токов до пяти
декад. Это позволяет реализовать деление напряжений в широком динамическом
диапазоне.
1.2.3 Применение АРУ для нахождения отношения напряжений
Существует большой класс элементов,
коэффициенты передачи которых зависят от управляющего воздействия. Практически
все известные виды характеристик регулирования коэффициентов передачи различных
элементов можно выразить в общем виде зависимостью
, (1.6)
где k0 – начальный коэффициент передачи, S(up) =dk(up)/dup – крутизна управления коэффициентом
передачи, up– управляющее напряжение.
Поскольку
коэффициент К0 может принимать
значения от нуля до любой положительной величины, а S(up) может быть любой функцией аргумента up при любом его знаке, то очевидно, что
выражение (1.6) справедливо для всех возможных реализаций элементов с
регулируемым коэффициентом передачи. Когда начальный коэффициент передачи Ко равен нулю, а
крутизна S(up) имеет отрицательную величину, не
зависящую от up, получаем выражение коэффициента
передачи множительной схемы.
Рассматривая
работу схемы с двумя управляемыми элементами, которая изображена на рисунке
1.3, можно доказать, что при выполнении
определённых условий, напряжение u3 будет равно
[1] :
. (1.7)
Эти условия сводятся к тому, что для
правильного деления необходим бесконечный коэффициент усиления замкнутой цепи
АРУ, что в основном обеспечивается увеличением коэффициента усиления обратной
связи, а характеристики регулирования обоих управляемых элементов должны быть
строго идентичными.

U2 U’
E0

Up у
ΔU
U1
U3
Рисунок
1.3 - Структурная схема измерителя отношения на
принципе АРУ
.Надо отметить, что требования к виду
зависимости k(up) отсутствуют. Это позволяет применять
любые элементы с управляемым коэффициентом передачи, лишь бы их характеристики
управления были идентичными.
Но идеального совпадения характеристик
регулирования двух элементов, равно как и бесконечного коэффициента усиления
замкнутой системы АРУ, добиться нельзя. Этим и объясняется появление
систематических погрешностей. Так можно доказать, что для получения погрешности
деления порядка 2% требуется совпадение характеристик не хуже 1% во всём
динамическом диапазоне [1], что вряд ли может быть
реализовано.
1.2.4 Разносный метод нахождения отношения напряжения
Для измерения отношения напряжений
близких по величине, целесообразно применять разносный метод, который сводится
к следующему: сначала надо измерить разность входных напряжений, разделить
полученную разность на одно из входных напряжений, а затем измерить выходное
напряжение [1]. Указанное выше записывается как
, (1.8)
где С –
константа деления, Uвых – выходная величина напряжения, r =u1/u2 – требуемое отношение
напряжений. Из формулы (1.20) следует
. (1.9)
Структурная схема,
реализующая описанный выше метод, изображена на рисунке 1.4.
Рисунок 1.4 – Структурная схема измерителя отношения реализующего
разносный метод
Погрешность измерения
отношения в этом случае равна [1]
. (1.10)
Величины
dС и dUвых имеют следующий
физический смысл. В любой делительной схеме в результате климатических
воздействий, изменений напряжения питания в некоторых пределах изменяется
выходная величина, что соответствует изменению постоянной деления C и вносит погрешность,
обозначенную как dC. Погрешность измерения
выходной величины напряжения обозначена dUвых.
Из выражения (1.10) следует, что для dС=2%
и dUвых=1% измерения отношения
r=0.99 будут обеспечиваться
с предельной погрешностью dr=0.003% [1].
1.2.5 Цифровой метод
измерения отношения
При вычислении отношения
при помощи микропроцессора, напряжения, отношения которых необходимо найти
преобразуются в цифровой код, а затем осуществляется операция деления одного
числа на другое. Известно, что представление числовой информации в
вычислительной машине ограничено разрядностью [3]. И если результат выполнения
арифметического действия по количеству разрядов превышает разрядную сетку
устройства, то часть разрядов теряется В настоящее время существует множество
алгоритмов выполнения деления одного числа, представленного в двоичном коде на
другое. Причем выполнения операции деления зависит от вида формата в котором
представлено число.
Операции над числами с
фиксированной точкой наиболее часты в практике программирования. Это
объясняется тем, что большинство прикладных задач не требует такой точности,
какую может дать плавающая точка, а скорость обработки, особенно в регистровых
командах, значительно выше.
Для представления чисел с
фиксированной точкой используется двоичная система счисления. Числа размещаются
в формате полуслова (16 бит), слова (32бита) и двойного слова (64 бита).
Размером этих полей фиксированной длины определяется диапазон представления
чисел, а при фиксированном диапазоне – точность представления числа.
Для представления чисел с
плавающей точкой используется полулогарифмическая форма, которая имеет вид
, (1.11)
где М –
мантисса числа А, r – порядок числа. Положение запятой
определяется значением порядка r. С изменением порядка в ту или другую
сторону точка перемещается (плавает) в лево или право. Под мантиссу и порядок в
машине отводится определенное число разрядов. Например, при представлении в
формате слова - 24. Диапазон представления десятичных чисел, взятых по
абсолютному значению, определяются неравенством [3]: 10-77≤│A(10)│≤1076.
Преобразование числовой информации в формат с плавающей точкой осуществляется
программным путем.
1.3
Методы построения
усилителей постоянного тока
1.3.1 Дрейф нуля в усилителях
постоянного тока
Дрейфом начального уровня или дрейфом нуля называется
самопроизвольное изменение выходного напряжения при неизменном или равном нулю
входном напряжении. Дрейф нуля является основным источником погрешностей в
измерительных приборах, в которых необходимо усиливать
сигналы постоянного напряжения [4,5,6].
Причины возникновения дрейфа начального уровня напряжения
или тока в УПТ различные. Во-первых, колебания температуры окружающей среды
вызывают изменения токов коллекторного и эмиттерного р-п переходов,
напряжения база - эмиттер и коэффициента усиления тока биполярных транзисторов.
У полевых транзисторов с изменением температуры также изменяются
соответствующие параметры. Во-вторых, при изменении напряжений источников
питания усилительных каскадов изменяется напряжение на выходе усилителя, даже
если его входное напряжение оставалось неизменным. В-третьих, происходит
старение параметров транзисторов, т. е. их изменение во времени. В-четвертых, в
соединениях, выполненных с помощью паек, а также в других соединениях элементов
или микросхем, которые являются неоднородными, могут возникать термоЭДС.
Последние усиливаются в каскадах, и на выходе усилителя возникает изменение
напряжения. Перечисленные дестабилизирующие факторы протекают медленно во
времени и усиливаются наравне с входным медленно изменяющимся сигналом, вызывая
определенную погрешность выходного напряжения.
Для уменьшения дрейфа начального напряжения
в УПТ прямого усиления применяют специальные балансные или разностные схемы
каскадов, а иногда электрическую изоляцию каскадов друг от друга с помощью
оптопар, которая позволяет получить изолирующие каскады. В УПТ с
преобразованием (модуляцией) усиливаемого сигнала уменьшение дрейфа нуля
достигается другим способом, однако и здесь возникают трудности, которые
преодолеть непросто.
1.3.2
Стабилизация точки покоя в транзисторных каскадах
Ток покоя выходной цепи усилительного каскада в рабочих
условиях не должен сильно отклоняться от величины, обеспечивающей нормальную
работу, так как иначе свойства каскада ухудшатся и он даже может стать
неработоспособным.
При питании от одного источника
достаточную стабильность тока покоя выходной цепи (или, что то же самое,
достаточную стабильность положения точки покоя на семействе статических
выходных характеристик транзистора), обеспечивающую работоспособность
транзисторных каскадов при изменении температуры и замене транзисторов, можно
получить при использовании схем стабилизации тока покоя выходной цепи (схем
стабилизации точки покоя)[4,5].
Простейшей и наиболее экономичной из таких схем является коллекторная
стабилизация (рис.1.5), в которой стабилизация
положения точки покоя осуществляется параллельной отрицательной обратной связью
по напряжению, снимаемой с коллектора транзистора.
Рисунок
1.5 - Коллекторная стабилизация точки покоя
при включении
транзистора с общим эмиттером
Здесь к резистору R1 приложена разность напряжения источника питания Е
и падения питающего напряжения на сопротивлении коллекторной нагрузки Z. Если
почему-либо ток покоя выходной цепи стремится возрасти, падение напряжения на Z увеличивается,
приложенное к R1 напряжение уменьшается и ток смещения базы падает, что
не дает току покоя сильно увеличится; при стремлении тока покоя уменьшиться
описанный процесс автоматического регулирования происходит обратным образом.
1.3.3 Дифференциальные каскады
Эффективным схемным решением, резко уменьшающим дрейф
нуля, вызванный как температурной нестабильностью транзисторов, так и
изменением питающих напряжений, является использование в усилителе так
называемых дифференциальных каскадов[4,5,6].
Простейшая схема дифференциального каскада на биполярных
транзисторах изображена на рис. 1.6. Если
транзисторы одинаковы, то при любом большом значении их дрейфа потенциалы на
коллекторах изменятся на одинаковую величину, а напряжение Uвых между ними останется неизменным. Таким образом, в этой
схеме напряжение Uвых оказывается нечувствительным к синфазным сигналам, т.
е. к дрейфу нуля. Для создания между коллекторами транзисторов полезного
усиливаемого сигнала необходимо подавать его на базы транзисторов в
противоположных фазах.
Для создания между коллекторами транзисторов полезного
усиливаемого сигнала необходимо подавать его на базы транзисторов в
противоположных фазах. В этом случае напряжение Uвых определяется только входным (дифференциальным) сигналом
и совершенно не зависит от дрейфа нуля (синфазный сигнал). В реальных
условиях полной идентичности транзисторов добиться нельзя и синфазные сигналы
будут проникать на выход устройства, создавая выходное напряжение ошибки
(дрейфа). Однако его величина в таком дифференциальном каскаде оказывается
очень малой.
Рисунок
1.6 -Дифференциальный каскада на биполярных
транзисторах
1.3.4 Усилители постоянного тока с преобразованием частоты усиливаемых
сигналов
Для
усиления сигналов с напряжением ниже сотен микровольт усилители постоянного
тока прямого усиления непригодны, и для этой цели приходится использовать
усилители постоянного тока с преобразованием частоты усиливаемых сигналов.
В
таких усилителях напряжение усиливаемых сигналов, имеющих спектр частот от 0 до
W
при помощи балансного модулятора модулирует по амплитуде напряжение генератора
несущей частоты w, в результате чего на выходе
модулятора получают модулированные колебания несущей частоты со спектром
боковых, частот w±W
Эти колебания подают на вход усилителя переменного тока рассчитанного на
пропускание полосы частот w±W; усиленные
модулированные колебания детектируются балансным демодулятором, выделяющим из
этих колебаний усиленный сигнал первоначальной формы который после
отфильтровывания остатка несущей частоты и ее гармоник поступает в нагрузку.
Для неискаженного усиления несущая частота w должна по крайней мере в 5—10 раз превышать наивысшую
частоту Wв усиливаемых сигналов.
Дрейф усилителей постоянного тока с
преобразованием в основном определяется дрейфом балансного модулятора. К
достоинствам усилителей постоянного тока с преобразованием можно отнести малый
уровень дрейфа, отсутствие необходимости стабилизации источников питания,
простоту введения обратной связи и регулировки усиления; их недостатком
является сложность устройства, включающего в себя, кроме усилителя (У),
генератор несущей частоты (Г), балансные модулятор (М), демодулятор (ДМ) и
фильтр(фнч). В УПТ с модуляцией сигнала удаётся получить дрейф начального
уровня менее 2мкВ/°С [6]. Схема описываемого УПТ представлена на рисунке 1.7.
Рисунок
1.7 – Структурная схема усилителя
постоянного тока с преобразованием частоты
усиливаемых сигналов
1.4 Выводы
На основании анализа, проведенного в данном разделе обозначим
основные принципы построения разрабатываемого устройства. Так для выполнения
непосредственно операции деления в микропроцессоре необходимо воспользоваться
алгоритмом деления, при котором числа представляются в формате с плавающей
запятой. Это позволит обеспечить необходимую точность вычислений и избежать
дополнительной погрешности при измерении отношения напряжений.
Усиливать входные сигналы стоит при помощи усилителей постоянного
тока, в которых постоянное напряжение преобразуется в переменное, а только
затем усиливается. Однако необходимости преобразовывать переменное напряжение
обратно в постоянное при решении нашей задачи нет. Поэтому при реализации
разрабатываемого устройства целесообразно перейти от сигналов с постоянным
напряжением к переменным, что можно осуществить при помощи обычного
коммутатора. Таким образом, это решение существенно облегчит реализацию
усилительного тракта прибора и решит проблему дрейфа нуля, не увеличив при этом
погрешность измерений.
Так как в соответствии с техническим заданием динамический диапазон входных
напряжений достаточно большой (60 дБ ) то в тракте усиления необходимо
использовать усилитель с переменным коэффициентом передачи, которые в настоящее
время выпускаются промышленностью. Это обеспечит сжатие динамического диапазона
сигнала, поступающего на вход аналого-цифрового преобразователя АЦП. Такое
решение позволяет резко снизить относительную погрешность, возникающую из-за
квантования преобразуемого сигнала. Процесс обратного расширения динамического
диапазона будет осуществлять в процессоре.
Для снижения погрешности,
причиной которой являются шумы, необходимо применять малошумящие усилители.
Кроме того необходимо будет реализовать цифровую фильтрацию, что обеспечит
увеличение отношения сигнал – шум, а следовательно уменьшит погрешность
измерения.
2
РАЗРАБОТКА ПРИНЦИПОВ ПОСТРОЕНИЯ ИЗМЕРИТЕЛЯ ОТНОШЕНИЙ.
2.1 Функциональная схема
На
основании выводов, сделанных в первом разделе проведем разработку
функциональной схемы прибора. Эта схема приведена на рис.2.1.
Так
как разрабатываемое устройство должно измерять отношения весьма малых напряжений
( от 10 мкВ до 10мВ ) то совершенно очевидно, что данные напряжения необходимо
усиливать. Причём целесообразно данные напряжения усиливать по одному тракту
усиления. Данное техническое решение позволит исключить дополнительную
погрешность связанную с нестабильностью параметров элементов схемы. Два тракта
усиления собранные на одной элементной базе будут всегда иметь небольшое
различие в коэффициентах передачи из за временной нестабильности, (воздействие
на схему различных дестабилизирующих факторов) и старения. В свою очередь это
небольшое отличие является причиной неточности при измерении той или иной
величины, например, как в данной работе, при измерении отношения двух
напряжений. Кроме того, использование одного тракта усиления позволит уменьшить
стоимость разрабатываемого устройства за счёт сокращения используемых
элементов, что также не маловажно при проектировании реального устройства. Для
реализации выбранного технического решения входные сигналы будем подавать на
единый тракт усиления последовательно, через коммутатор К, управляемый
центральным процессором П1.
Как было
описано в первой главе данной работы, причиной большой погрешности в измерениях
при усилении постоянных напряжений может являться дрейф нуля. Во избежание
данного явления целесообразно перейти от постоянных напряжений к переменным.
Этот переход можно осуществить при помощи коммутатора К, который
последовательно будет подключать ко входу предварительного усилителя ПУ либо
один из входных сигналов, либо общий провод, потенциал которого равен нулю.
Таким образом, для осуществления схемы с одним трактом усиления и перехода от
сигналов постоянного напряжения к сигналам с переменным напряжением используем
трехканальный коммутатор, на один вход которого подается первый входной сигнал,
на второй вход – второй входной сигнал. Третий вход коммутатора необходимо
присоединить к общему проводу. Центральный процессор должен управлять коммутатором таким образом, чтобы на
выходе коммутатора было сформировано две последовательности прямоугольных
импульсов одинаковой частоты со скважностью равной двум. Причем амплитуды
сформированных последовательностей будут равны величинам напряжений входных
сигналов. (Рисунок 2.2)

Рисунок 2.2 – Сигнал, формируемый на выходе коммутатора
Как уже было
упомянуто выше, управляться четырехканальный коммутатор будет центральным
микропроцессорным устройством. Причем частоту последовательностей прямоугольных
импульсов выберем равной F=1 кГц. Частоту смены импульсных
последовательностей следует выбрать исходя из расчётов времени, которое
требуется на установление переходного процесса цифрового фильтра описанного
далее, и времени, которое требуется процессору для выполнения заложенных в него
алгоритмов обработки поступающей информации.
Далее
сформированные коммутатором импульсные последовательности усиливаются
предварительным усилителем ПУ. Так как поступаемый на вход ПУ сигнал имеет
малый уровень (в худшем случае 10 мкВ в соответствии с техническим заданием),
то усилитель, дабы не вносить большую погрешность в измерение требуемой
величены, должен иметь малый коэффициент шума. Основным требованием, которому
должен соответствовать выбираемый усилитель является низкий коэффициент шума.
Поэтому следует выбрать малошумящий операционный усилитель. Коэффициент
передачи по напряжению предварительного усилителя выберем позже.
Так как в
соответствии с техническим заданием динамический диапазон входных напряжений
достаточно большой (60 дБ ) то в тракте усиления необходимо использовать
усилитель с переменным коэффициентом передачи. Это обеспечит сжатие
динамического диапазона сигнала, поступающего на вход аналого-цифрового
преобразователя АЦП. Такое решение позволяет резко снизить относительную
погрешность, возникающую из-за квантования преобразуемого сигнала (абсолютное
значение этой погрешности равно единице младшего разряда). Обратное расширение
динамического диапазона будем осуществлять в центральном процессоре путем
деления полученного кода на коэффициент усиления управляемого усилителя.
Используем двуполярный двенадцатиразрядный АЦП с максимальной амплитудой
сигналов подаваемых на АЦП равной Umax=2
В. В двенадцатиразрядном АЦП один разряд знаковый. Зная это можно найти число
уровней квантования, которое равно N=211=2048.
Тогда шаг квантования
. (2.1)
Относительную погрешность
вносимую при оцифровке сигнала можно оценить как отношение шага квантования к
входному сигналу.
. (2.2)
При максимальном значении
амплитуды подаваемого на АЦП сигнала погрешность равна: δmin =(0,001/2)*100% =0,05%. Это будет
минимальная погрешность вносимая АЦП. Подберём коэффициент передачи всего
усилительного тракта таким образом, чтобы минимальная амплитуда сигнала
подаваемого на вход АЦП была в два раза меньше максимального значения
амплитуды, то есть 1 В. Погрешность при этом будет равна δmax=(0,001/1)*100%
=0,1%. Это и будет максимальная погрешность АЦП. Для того чтобы погрешность не
превышала данное значение, необходимо чтобы при любом значении входного
сигнала, на АЦП поступала импульсная последовательность, амплитуда которой
попадала бы в диапазон от 1 В до 2 В. Это можно реализовать при помощи
управляемых усилителей УУ1-УУ3 коэффициенты передачи которых устанавливаются
цифровым кодом с процессора.
Для
обеспечения заданного динамического диапазона используем три таких усилителя
включённых каскадно. Коэффициент передачи
каждого может быть равен 1, 2, 4, 8. Тогда диапазон изменения коэффициента
передачи всех трёх усилителей изменяется от 1 до 29=512. Управление
коэффициентами усиления микросхем DA3 – DA5 осуществляет микроконтроллер DD1 типа AT90S1200
фирмы Atmel.
Для
сжатия динамического диапазона сигнала используется дискретная система
автоматической регулировки усиления (АРУ), анализирующая сигнал на выходе
последнего усилителя и осуществляющая переключение коэффициента усиления, если
уровень этого сигнала выходит за пределы диапазона 1 - 2 вольта.
Напряжение
с выхода третьего управляемого усилителя поступает на первый вход компаратора,
который встроен в микроконтроллер DD1
(вывод 12). На второй вход этого же компаратора (вывод 13 микроконтроллера DD1) подается напряжение с ЦАП.
Напряжение на выходе ЦАП может иметь только два значения, соответствующие
верхнему значению (2 вольта), либо нижнему значению диапазона выходного сигнала
(1 вольт).
Управление
работой ЦАП осуществляет микроконтроллер DD1, который вырабатывает соответствующие сигналы на
выводах 14, 15, 16. Сначала на первый (старший) разряд ЦАП (резистор R14)
подается напряжение +5В, а на второй разряд (резистор R12) – нулевое
напряжение. При этом на втором входе компаратора формируется высокий уровень
напряжения (2 вольта), который и сравнивается с напряжением на первом входе.
Если
напряжение на первом входе компаратора превышает напряжение на втором входе, то
происходит уменьшение коэффициента усиления управляемого усилителя в два раза,
После этого процесс повторяется до тех пор, пока напряжение на первом входе
компаратора не станет меньше, чем на втором.
Если
напряжение на первом входе компаратора меньше напряжения на втором входе, то
контроллер DD1 на второй разряд подает напряжение
+5В, а на первый разряд – нулевое напряжение. При этом на втором входе
компаратора формируется низкий уровень напряжения (1 вольт), который и
сравнивается с напряжением на первом входе. Если после этого напряжение на
первом входе компаратора меньше напряжения на втором входе, то происходит
увеличение коэффициента усиления управляемого усилителя в два раза и процесс
повторяется до тех пор, пока напряжение на первом входе компаратора не станет
меньше, чем на втором.
Таким
образом, в следящем режиме дискретная система АРУ удерживает напряжение на
выходе третьего усилителя с управляемым коэффициентом передачи (1-2 вольта)
при изменении входного сигнала во всем динамическом диапазоне изменения.
Для
исключения циклических переключений на границах диапазона (1 и 2 вольта)
предусмотрено введение гистерезиса. Это осуществляется с помощью младших
разрядов ЦАП, которые включаются одновременно со старшим путем подачи на них
напряжения +5 вольт (резистор R8) . При этом несколько увеличивается
опорное напряжение, подаваемое на второй вход компаратора.
Непосредственное
управление коэффициентом усиления проводит микроконтроллер DD1, устанавливая соответствующие коды
на выводах 2, 3, 6. Эти коды поступают на выводы 15, 16 микросхем DA3 – DA5 и
осуществляют изменение коэффициента усиления. Для проведения операции
восстановления динамического диапазона (экспандирования) микроконтроллер DD1 7, 8, 9 формирует трехразрядный код
коэффициента усиления управляемого усилителя, который поступает на центральный
микроконтроллер. Значение коэффициентов передачи устанавливается сигналом с
центрального процессора.
Зная максимальные значения
коэффициентов передачи этих усилителей, можем оценить, каким должен быть
коэффициент передачи предварительного усилителя. Известно, что минимальное
значение амплитуды входного сигнала после коммутатора и разделительного
конденсатора Uвхmin=5мкВ. При этом амплитуда сигнала
подаваемого на АЦП: UАЦП=1В. тогда максимальный коэффициент
передачи всего усилительного тракта :
. (2.3)
Вычислив,
получим КОБЩ=200000. Найдём максимальный коэффициент передачи трёх
управляемых усилителей с переменными коэффициентами передачи, который равен
. (2.4)
где
К1 , К2, и К3 - коэффициенты
передачи трёх усилителей соответственно. Тогда КПЕР=512. теперь можно найти коэффициент передачи предварительного
усилителя
. (2.5)
Вычислив,
получим Кпу≃391.
Рассмотрим
принцип сжатия динамического диапазона сигнала. Рассмотрим ситуацию, когда
входной сигнал линейно изменяется от 10мкв до 10 мв Этот случай иллюстрируется
рисунком 2.3. При подаче минимального напряжения на вход устройства процессор устанавливает
на всех управляемых усилителях максимальные значения коэффициентов передачи. К1=К2=К3=8.
На АЦП поступает сигнал с амплитудой приблизительно 1В. При увеличении
напряжения входного сигнала увеличивается амплитуда сигнала поступающего на
АЦП. Если напряжение входного сигнала превысит значение 20 мкВ, на вход АЦП
будет поступать сигнал, амплитуда которого будет превышать 2 В. При этом АЦП
выдаст на процессор код, во всех разрядах которого, кроме знакового, будут
единицы. В этом случае процессор установит коэффициент передачи последнего
управляемого усилителя равным четырём, оставив коэффициенты передачи первых
двух на прежнем значении. При дальнейшем увеличении напряжения входного
сигнала, процессор понизит коэффициент передачи последнего управляемого
усилителя сначала до двух, затем до единицы. При этом важно, чтобы амплитуда
сигнала, подаваемого на АЦП не упала ниже значения 1 В, а следовательно
погрешность не превысила установленного значения. Это возможно из-за
нестабильности входного сигнала и шумов. Поэтому процессор необходимо
запрограммировать таким образом, чтобы при уменьшении напряжения на АЦП больше
чем на какое-то значение ΔU относительно минимально допустимого,
коэффициент передачи управляемого усилителя увеличивался.
При
последующем увеличении напряжения входного сигнала процессор установит
коэффициент передачи второго управляемого усилителя равным четырём, затем двум,
затем единице. Если на вход устройства буден подан сигнал с максимальным в
соответствии с техническим заданием напряжением 10 мкВ, коэффициенты передачи
трёх управляемых усилителей установятся равными единице.
Перед
АЦП необходимо поставить фильтр нижних частот ФНЧ, который бы ограничивал
спектр сигнала подаваемого на АЦП пятой гармоникой. Тогда максимальная частота
в спектре этого сигнала равна: Fmax=5F=5
кГц. В соответствии с теоремой Котельникова, найдём
интервал дискретизации
. (2.6)
Δt=10-4 c=0.1мс. Требуемый ФНЧ может быть
легко реализован на операционном усилителе.
С
АЦП оцифрованный сигнал подается на центральный процессор, где осуществляется
цифровая обработка. Сначала проводится цифровая узкополосная фильтрация,
которая обеспечивает подавление шумов и повышает отношение сигнал-шум. На
выходе цифрового фильтра имеем импульсную последовательность, огибающая которой
соответствует гармоническому колебанию с частотой равной F=1 кГц. Далее при помощи дискретного
преобразования Фурье (ДПФ) находится амплитуда первой гармоники, которая
пропорциональна напряжению входного сигнала. Это значение запоминается. После того как с коммутатора поступает последовательность
импульсов с амплитудой равной напряжению второго сигнала, и обрабатывается
аналогично первому сигналу, выполняется операция деления одного числа на
другое. При этом необходимо учитывать, какие коэффициенты передачи были
установлены на управляемых усилителях. Результат выполнения операции деления выводится на индикатор. Для этих целей используем
однострочный восьми символьный жидкостно-кристаллический индикаторный модуль GBM0801A
фирмы XIAMEN.
2.2
Выбор типа микропроцессора
В
настоящее время разработано и выпускается отечественной и зарубежной
промышленностью множество микропроцессоров, которые имеют различные
возможности. Разрабатываемое устройство требует от центрального процессора
обеспечение выполнения требуемых операций за короткий промежуток времени. А
именно цифровую фильтрацию, дискретное преобразование Фурье, операцию деления
двух чисел. Кроме того, центральный процессор должен формировать управляющие
сигналы для коммутатора, АЦП и для схемы индикации. Поэтому необходим быстродействующий
процессор с высокой производительностью. Выберем микроконтроллер фирмы Texas Instruments TMS320VC5409A. Этот
микроконтроллер обладает шестнадцатиразрядной шиной данных, имеет два вывода
общего назначения (для управления коммутатором), три многоканальных
последовательных порт, которые также могут быть запрограммированы как вывода
общего назначения (для управления АЦП, схемой индикации). Кроме того,
TMS320VC5409A снабжен встроенной оперативной памятью объемом 32 x 16 бит, которая
состоит из четырех блоков объемом 8 x 16 бит каждый. Тактовая частота
микроконтроллера 160 МГц. Питается от двух источников напряжения, а именно 3,3
В и 1,6 В, которые формируются специализированной микросхемой фирмы Texas
Instruments - TPS70445. Данный микроконтроллер построен по улучшенной
гарвардской архитектуре и имеет одну шину программной памяти и три шины памяти
данных. Раздельные пространства программной памяти и памяти данных обеспечивает
одновременный доступ к программным командам и данным. Для работы микроконтроллеру
необходима внешняя ПЗУ. Выберем микросхему Am29LV200B объемом 256 x 8 бит, которую
выпускает фирма AMD.
2.3
Оценка погрешности измерения отношения
Важнейшим
показателем качества любого измерительного прибора является его точность.
Поэтому при разработке измерителя отношения напряжений необходимо оценить
погрешность измерения. Очевидно, что погрешность измерения отношения двух
напряжений будет в первую очередь определяться погрешностью измерения самих
напряжений. Так абсолютную погрешность измерения отношения можно найти по
формуле
. (2.7)
Так
как отношение двух напряжений определяется выражением
, (2.8)
то
относительную погрешность измерения отношения двух напряжений можно записать
так:
. (2.9)
Определим
частные производные для выражения (2.9).
, (2.10)
. (2.11)
Подставим
формулы (2.10) и (2.11) в выражение (2.9) и проделаем несложные преобразования.
В результате получим
. (2.12)
Из
выражения (2.12) заметим, что относительная погрешность измерения отношения
равна разности относительных погрешностей напряжений, отношение которых
необходимо определить. То есть мультиплексивная погрешность будет вычитаться.
Однако нам необходимо оценить предельную погрешность, поэтому рассмотрим
случай, когда ΔU1 и ΔU2 будут иметь различные знаки. При этом
максимальная относительная погрешность измерения отношения двух напряжений
равна
. (2.13)
Для
оценки относительной погрешности измерения напряжений проанализируем причины её
возникновения. Так основными источниками погрешности измерения напряжений
являются погрешность возникающая при квантовании сигнала, погрешность,
связанная с нелинейностью тракта усиления и погрешность, причиной которой
являются шумы. Первая была оценена выше, при разработке функциональной схемы.
Ее максимальное значение составляет 0,1%. Погрешность связанная с нелинейностью
тракта усиления при питании операционных усилителей ±5 В и максимальной
амплитуде сигнала 2 В, она составляет менее 0,01% [4].
Она мала по сравнению с погрешностью возникающей при квантовании сигнала,
поэтому ее учитывать не будем. Погрешность, причиной которой являются шумы
учитывать не будем ввиду сложности методики ее оценки. Тогда ΔU1/U1= ΔU2/U2=0.1%. А максимальная относительная погрешность измерения
отношения двух напряжений, в соответствии с (2.13) будет равна (ΔK/K)MAX=0.2%.
Следует
также учесть погрешность цифровой индикации. При работе схемы индикации в
режиме плавающей запятой она будет оставаться неизменной во всем диапазоне
измеряемых напряжений, и равна единице младшего цифрового разряда.
Относительную погрешность цифровой индикации оценим при максимальном измеряемом
отношении КMAX=1000. При этом вес единицы младшего
цифрового разряда равен ΔЦИ=1. Тогда погрешность равна
. (2.14)
Таким
образом δЦИ=0,1%. Суммарная погрешность разрабатываемого
прибора будет равна
, (2.15)
и
равна δИЗМ=0,3%. То есть разрабатываемый прибор способен
измерять отношения двух напряжений во всем диапазоне изменения отношений с
погрешностью 0,3%.
5 ТЕХНИКО–ЭКОНОМИЧЕСКОЕ ОБОСНОВАНИЕ
5.1 Маркетинговые исследования
Целью
технико-экономического обоснования (ТЭО) является определение
народно-хозяйственной эффективности производства устройства на основе учета
технико-экономических показателей. Решение о целесообразности разработки,
изготовления, внедрения и эксплуатации проектируемого устройства принимается из
расчета обобщенного показателя – экономического эффекта, в котором отражены
частные показатели эффективности, характеризующие прибор. Именно его нам
необходимо рассчитать.
Для
рыночных условий производства и эксплуатации новой техники следует
предусмотреть возможные варианты конкуренции, сопоставив спрос и предложение на
аналогичную технику на предлагаемом рынке.
Определим
потребителя разрабатываемого устройства, для этого составим его портрет.
При
производстве устройства измерения отношения напряжений на основе
микропроцессорного вычислителя потребитель определяется из следующих
соображений. По географическому положению предприятие-покупатель может
находиться где угодно. Если устройство будет иметь выгодные
технико-экономические показатели, при его технических показателях
заинтересованность могут проявить как предприятия нашей страны, так и ближнего и
дальнего зарубежья.
Потребителем
могут быть и мелкие и крупные предприятия, т.к. цена прибора на рынке подобных
устройств относительно не велика, соответственно по форме финансирования это
могут быть и частные фирмы и госпредприятия. Величина закупок данного вида
устройств не может быть высока, т.к. операция измерения отношения двух
напряжений является весьма специфической, хотя как таковая она может быть
использована в управлении различными техпроцессами на заводах. Приобретая
разрабатываемое устройство, потребитель, прежде всего, выигрывает в цене и
затратах на обслуживание, т.к. эксплуатация предлагаемого устройства не требует
специального обучения персонала. Область применения относительно не велика:
различные лаборатории, институты, конструкторские бюро, измерительные центры.
5.2 Расчет капитальных и текущих
затрат, связанных с разработкой и изготовлением изделия
В
состав единовременных капитальных затрат, связанных с проектированием
устройства дистанционного управления радиостанцией, относятся затраты на:
а)
научно-исследовательские и опытно-конструкторские работы (НИОКР);
б)
приобретение, доставку, монтаж и освоение технологического и другого
оборудования;
в)
освоение производства и доработку новых образцов;
г)
создание социальной инфраструктуры, а также обеспечение мероприятий по охране
труда.
Так
как разработка ведется на действующем предприятии с развитой инфраструктурой,
капитальные вложения складываются из затрат на НИОКР.
Затраты
на НИОКР определяются по следующим статьям.
-
материалы и комплектующие изделия;
-
заработная плата основная и дополнительная;
- отчисления на социальные нужды;
- специальное оборудование, приборы;
- накладные расходы.
К
материалам и комплектующим изделиям относят те, которые используются для
разработки, макетирования разрабатываемого изделия. Стоимость основных
материалов приведена в таблице 5.1.
Таблица 5.1 – Cтоимость материалов
|
№
пп
|
Наименование
материала |
Вид,
марка
|
Единица
измерения |
Цена за
единицу |
Норма
расхода на 1 изд. |
Сумма,
грн.
|
| 1 |
Стеклотекстолит
фольгированный |
СФ-2-35-1.5
ГОСТ
10316-70
|
м2
|
12 |
0,01955 |
0,235 |
| 2 |
Припой |
Пр ПОС-61
ГОСТ
21930-76
|
кг |
9 |
0,01 |
0,1 |
| 3 |
Канифоль |
КС-В
ГОСТ
19113-84
|
Кг |
5 |
0,003 |
0,015 |
| 4 |
Хлорное
железо
|
НХЖК 2-12 |
Кг |
7 |
0,04 |
0,28 |
| 5 |
Спирт
этиловый
|
ХЧДА
ГОСТ
17299-78
|
Кг |
2 |
0,2 |
0,4 |
| 6 |
Лак |
ЭП-73
ГОСТ 20824-81
|
кг |
4 |
0,004 |
0,016 |
Продолжение
таблицы 5.1
| 1 |
2 |
3 |
4 |
5 |
6 |
7 |
| 7 |
Ударопрочный
полистирол |
ТУ
6-05-1604-72 |
м3
|
250 |
4,5*10-5
|
0,009 |
|
| 8 |
Провод
монтажный |
МТВ-0,25 |
м |
0,007 |
2,3 |
0,161 |
|
| 9 |
Провод
медный
|
ПЭЛ-0,45 |
м |
0,05 |
2 |
0,1 |
|
| Итого |
1,316 |
|
|
|
|
|
|
|
|
|
|
|
В
стоимость материалов включают транспортно-заготовительные расходы в размере 5%
от их стоимости.
Затраты
на покупные комплектующие изделия на один прибор определяются на основании
принципиальной схемы прибора с учетом транспортно-заготовительных расходов в
размере 5% от стоимости. Затраты на комплектующие изделия приведены в таблице
5.2.
Таблица 5.2 – Стоимость комплектующих
изделий
| №
пп |
Наименование
комплектующих изделий |
Марка,
Тип
|
Цена
за
1
шт., грн
|
Норма
расхода на 1 изделие |
Сумма,
грн
|
| 1 |
Резистор |
0805 |
0,11 |
16 |
1.76 |
| 2 |
Резистор |
СП3-22 |
0.5 |
2 |
1 |
| 3 |
Конденсатор |
0805 |
0,11 |
20 |
2,2 |
| 4 |
Конденсатор |
K10-26 |
0,10 |
1 |
0,10 |
| 5 |
Конденсатор |
К10-7В |
0,10 |
1 |
0,10 |
| 6 |
Кварц |
РК179 БА |
2 |
1 |
2 |
| 7 |
Стабилитрон |
TL431 |
1 |
2 |
2 |
| 8 |
ключ |
|
5 |
2 |
1 |
| 9 |
Трансформатор |
ТОТ35 |
5 |
1 |
5 |
| 10 |
Микросхема |
жки |
25 |
1 |
25 |
| 11 |
Микросхема |
Дионый мост |
2 |
1 |
2 |
| 12 |
Микросхема |
ИЛИ-НЕ |
0,5 |
1 |
0,5 |
| 13 |
Микросхема |
K1402EH1 |
2 |
1 |
2 |
| 14 |
Микросхема |
DCP010515DP |
10 |
1 |
10 |
| 15 |
Микросхема |
DCP010505P |
10 |
1 |
10 |
| 16 |
Микросхема |
LTC1402 |
15 |
1 |
30 |
| 17 |
Микросхема |
PGA204 |
15 |
3 |
45 |
|
|
|
|
|
|
|
|
Продолжение
таблицы 5.2
| 1 |
2 |
3 |
4 |
5 |
6 |
|
18 |
Микросхема |
OPA627 |
10 |
2 |
20 |
|
19 |
Микросхема |
TMS320VC5409A |
45 |
1 |
45 |
|
20 |
Микросхема |
TPS70445 |
15 |
1 |
15 |
|
21 |
Микросхема |
Am29LV200B |
20 |
1 |
20 |
|
22 |
Микросхема |
AT90S1200 |
40 |
1 |
40 |
|
23 |
Микросхема |
NP100A |
40 |
1 |
40 |
|
Итого |
290,3 |
|
|
|
|
|
|
|
|
|
|
|
|
|
Таким
образом затраты на материалы и комплектующие изделия по таблицам 5.1, 5.2 с
учетом транспортно-заготовительных расходов:
ЗМ
= 1,316+0,05*1,316 = 1,38 грн;
ЗКИ
= 290,3+0,05*290,3 = 304,82 грн.
При
расчете заработной платы положим, что ее получают на этапе проектирования
инженеры конструкторы, и при проектировании устройства дистанционного
управления радиостанцией нам достаточно двух инженеров, проектирование ведется
1 месяц.
Оклад
инженера по различным источникам составляет 1,26 грн/час, при трудоемкости 192
часа на один прибор. Коэффициент, учитывающий доплаты к основной заработной
плате Кд = 1,5. Тогда основная зарплата составит:
ОЗП = 2*Тр*Сч*Кд ; (5.1)
ОЗП = 2*192*1,26*1,5 = 725,76 грн.
Дополнительная
заработная плата для инженеров на данном этапе не рассчитывается.
Отчисления
на социальное страхование и др. составляют 37% от суммы зарплаты:
ОСС = 0,.37*ОЗП = 0,.37*725,76 = 268.53 грн.
Накладные
расходы составляют укрупнено в объеме 200% от суммы зарплаты и составляют:
НР = 2*ОЗП = 2*725,76 = 1451,52 грн.
Полученные
в результате расчета капитальные затраты будут:
К = ОЗП + ОСС + НР + ЗМ + ЗКИ
; (5.2)
К = 725,76 + 268.53 + 1451,52 + 1,38 + 304,82= 2752.01
грн.
В
состав текущих затрат входят затраты, непосредственно связанные с серийным
изготовлением аппаратуры. Расчет текущих затрат сводится к определению полной
себестоимости изделия в соответствие с порядком калькуляции принятом в отрасли.
Себестоимость изделия рассчитаем методом прямого счета, применяемого в
радиопромышленности. При этом основная зарплата производственных рабочих определяется
по трудоемкости изготовления одного изделия. Расчетная зарплата рабочих
представлена в таблице 5.3.
Таблица 5.3 – Прямая
зарплата основных производственных рабочих
| №
пп |
Виды
работ |
Разряд
|
Часовая
тарифная ставка, грн. |
Трудоемкость,
час
|
Прямая
зарплата,
Грн.
|
| 1 |
Гальванические |
5 |
0,29 |
1,6 |
0,464 |
| 2 |
Сборочные |
5 |
0,29 |
2,0 |
0,58 |
| 3 |
Монтажные |
5 |
0,29 |
1,8 |
0,522 |
| 4 |
Настроечные |
6 |
0,35 |
1 |
0,35 |
| 5 |
Регулировочные |
5 |
0,3 |
1 |
0,3 |
| Итого |
2,216 |
|
|
|
|
|
|
|
Основная
заработная плата будет составлять:
ОЗППР = 1,3*ПЗП = 1,3*2,216 = 2,88 грн.
Дополнительная
зарплата составляет 16% от основной:
ДЗППР =0,16*ОЗППР = 0,16* 2,88 =
0,46 грн.
Отчисления
на социальные нужды:
ОССПР = 0,37*(ОЗППР + ДЗППР)
= 0,.37(2,88 + 0,46) = 1.24грн.
Расходы
на подготовку и освоение производства составляют 4% от суммы основной
заработной платы:
РПОП = 0,04*ОЗППР = 0,04*2,88 =
0,115 грн.
Расходы
на содержание и эксплуатацию оборудования составляют 60% от суммы основной
заработной платы:
РСЭО = 0,6*ОЗППР = 0,6*2,88 = 1,73
грн.
Общепроизводственные
расходы составляют 80% от суммы основной заработной платы:
ЦР = 0,8*ОЗППР = 0,8*2,88 = 2,3 грн.
Общехозяйственные
расходы составляют 90% от суммы основной заработной платы:
ОЗР = 0,9* ОЗППР = 0,9* 2,88 = 2,59 грн.
Прочие
производственные расходы составляют 7% от всех предыдущих статей:
ПР = 0,07*(ОЗППР + ДЗППР
+ ОССПР + ЗМ + ЗКИ + РПОП + РСЭО
+ ЦР + ОЗР) ; (5.3)
ПР = 0,07*(2,88 + 0,46 + 1,24 + 1,38 + 304,82+ 0,115 +
1,73 + 2,3 + 2,59) = 13,13 грн.
Производственная
стоимость изделия есть по существу общая сумма расходов по пунктам статей
приведенных выше, т.е.
С = ОЗППР + ДЗППР + ОССПР
+ ЗМ + ЗКИ + РПОП + РСЭО + ЦР + ОЗР
+ ПР = 330,56 грн.
Внепроизводственные
расходы определяются как 3% от производственной себестоимости
ВПР = 0,03*С = 9,92 грн.
Полная
себестоимость, таким образом, будет:
СП = С + ВПР =330,56+9,92 = 340,48 грн.
Полученные
результаты сводим в таблицу калькуляции себестоимости.
Таблица 5.4 – Калькуляция
себестоимости изделия
| Статья
расхода |
Сумма,
грн. |
%
к итогу |
| Основные
материалы |
1,38 |
0,4 |
| Покупные
комплектующие изделия |
304,82 |
89.5 |
| Основная
зарплата производственных рабочих |
2,88 |
0.86 |
| Отчисления
на соцстрахование |
1,24 |
0.36 |
| Расходы
на подготовку и освоение производства |
0,115 |
0,04 |
| Расходы
на содержание и эксплуатацию оборудования |
1,73 |
0,51 |
| Общепроизводственные
расходы |
2,3 |
0.68 |
| Общехозяйственные
расходы |
2,59 |
0.76 |
| Прочие
расходы |
13,13 |
3.9 |
| Внепроизводственные
расходы |
9,92 |
2,9 |
| Полная
себестоимость |
340,48 |
100 |
5.3 Формирование цены
Формирование
цены происходит по методу «средние издержки плюс прибыль», который в
достаточной мере удовлетворяет условиям разработки.
По
данному методу цена определяется следующим образом:
Ц = СП + П ; (5.4)
где СП
– полная себестоимость;
П
– прибыль, которую выбирают равной 20%.
Тогда:
Ц = 340,48+ 0,2*340,48 = 408,7 грн.
Таким
образом, предполагаемая цена изделия составит 408,9 гривны.
5.4 Расчет затрат при эксплуатации
устройства измерения отношения напряжений на основе микропроцессорного
вычислителя.
Состав
затрат на эксплуатацию радиоаппаратуры у потребителя зависит от ее назначения и
условий эксплуатации. В общем случае это:
а)
зарплата с отчислениями персонала, обслуживающего разрабатываемое устройство;
б)
текущий ремонт;
в)
электроэнергия, необходимая для питания аппаратуры;
г)
вспомогательные материалы;
д)
накладные расходы.
Рассчитаем
затраты на эксплуатацию.
Зарплата
с отчислениями для персонала, работающего на радиоаппаратуре, определяется как:
ЗПП = Тч * Сч * КП
* КД * КС ; (5.5)
где Тч
– время работы аппаратуры в течение года, час;
Сч
– тарифная ставка оператора, грн/час;
КП
– коэффициент, учитывающий доплаты и премии - КП = 1,25;
КД
– коэффициент, учитывающий доплаты - КД = 1,16;
КС
– коэффициент, учитывающий отчисления на соцстрахование и др. отчисления - КС
= 1,37.
Разрабатываемая
аппаратура может работать в течение рабочего дня в продолжение 8 часов,
количество рабочих дней в году или иначе фонд времени рассчитывается следующим
образом:
Тч = [Дк - (Дв
+ Дn) ] *8 - (Дпв + Дпп) ; (5.6)
где Дк
–- кол-во календарных дней в году 365;
Дв –кол-во
выходных дней в году 52;
Дn – кол-во
праздничных дней 7;
Дпв – кол-во
предвыходных дней 52;
Дпп – кол-во
предпраздничных дней 2.
В
результате расчета получаем:
Тч = 2394 час.
Часовую
тарифную ставку установим в размере Сч = 0,625 грн/час.
В
результате расчета получим зарплата с отчислениями:
ЗПП =
2394*0,625*1,25*1,16*1,37 = 2972,3грн.
Затраты
на текущий ремонт радиоаппаратуры учитывают стоимость замены вышедших из строя
деталей. Для такого расчета необходимо знать наработку на отказ деталей,
трудоемкость устранения отказа и удельную стоимость работ. В упрощенном
варианте можно принять расходы на текущий ремонт 5% от общей суммы расходов.
Затраты
на электроэнергию аналогично принимаются равными 25% от общей статьи расходов.
Амортизационные
отчисления составляют 20% от общей суммы расходов. Косвенные и прочие расходы
соответственно составляют 4% и 7% от общей суммы расходов. По этим данным
составим таблицу годовых эксплуатационных расходов.
Таблица 5.5 – Укрупненная структура
годовых эксплуатационных расходов
|
№
пп
|
Статьи расходов |
Сумма, грн. |
% к итогу |
| 1 |
Заработная плата производственного
персонала с отчислениями на соц. мероприятия |
2972,3 |
39 |
| 2 |
Текущий ремонт |
381,06 |
5 |
| 3 |
Электроэнергия |
1905,32 |
25 |
| 4 |
Амортизационные отчисления |
1524,26 |
20 |
| 5 |
Косвенные расходы |
304,85 |
4 |
|
| 6 |
Прочие расходы |
533,49 |
7 |
|
| Итого |
7621,28 |
100 |
|
|
|
|
|
|
|
Полученные
экономические показатели используем при расчете экономического эффекта.
5.5 Определение экономической
эффективности
Обобщенным
показателем эффективности являться экономический эффект (ЭЭ).
Расчет
ЭЭ за расчетный период производится по формуле:
Эт = Рт – Зт ; (5.7)
где Рт
– стоимостная оценка результатов внедрения разрабатываемого прибора за
расчетный период, грн.;
Зт
- стоимостная оценка затрат на внедрение прибора в производство за расчетный
период, грн.
Стоимостная
оценка результатов внедрения разрабатываемого прибора получается следующим
образом:
Рт = Цт * Ат ; (5.8)
где Цт
– цена разрабатываемого устройства за расчетный период, грн.;
Ат
– объем реализации изделий за расчетный год, шт.
Предполагая
что в год реализуется 500 устройства измерения отношения напряжений на основе
микропроцессорного вычислителя получим:
Рт = 408,7*500 = 204350 грн.
Затраты
на новый прибор за расчетный период включают затраты при производстве и
эксплуатации его:
Зт = Зп + Зэ ; (5.9)
где Зп
– затраты при производстве, грн;
Зэ – затраты при
эксплуатации, грн.
Затраты
при производстве определяются следующим образом:
Зп = К + СП *
Ат ; (5.10)
где
К – капитальные затраты.
Зп = 2752,01 + 340,48*500 = 173037,01
грн.
Затраты
при эксплуатации составляют Зэ = 7927,25 грн.
Таким
образом, экономический эффект будет составлять:
Эт = 204350-(173037,01 + 7927,25) =
23385,74 грн.
Таким
образом, разработка прибора будет эффективна в текущем году и его можно
запускать в производство, ожидая прибыль в первый же год производства, при
условии, что количество выпускаемых изделий будет соответствовать серийному
производству.
Сведем
общие и частные технико-экономические показатели в таблицу.
Таблица
5.6 – Технико-экономические показатели разрабатываемого устройства
| Показатели |
Единицы измерения |
Значения |
| Капитальные затраты |
грн |
2752,01 |
| Себестоимость |
грн |
340,48 |
| Цена |
грн |
408,7 |
| Расходы при эксплуатации |
грн |
7621.28 |
| Экономический эффект |
грн |
23385,74 |
6 ОХРАНА ТРУДА И ОКРУЖАЮЩЕЙ СРЕДЫ
6.1 Анализ условий труда при
производстве устройства измерения отношения напряжений на основе
микропроцессорного вычислителя
Охрана
труда заключается не только в том, чтобы обеспечить безопасность и безвредность
в процессе труда, но и в том, чтобы сама работа не была тяжелой, утомительной и
монотонной.
Неправильная
организация труда приводит к преждевременному утомлению из-за перенапряжения
отдельных органов, нерационального чередования движений, их монотонностью. Если
на рабочем месте не гарантирована полная безопасность, это также вызывает
преждевременное утомление.
Комплекс
условий, окружающих человека или отдельный элемент всего комплекса, может
являться фактором который может привести к травматизму, профессиональному
заболеванию, снижению производительности труда.
Все
приборы, блоки питания и вспомогательные устройства питаются от сети
переменного тока напряжением 220 вольт, следовательно, кроме высокой производственно-технологической
квалификации каждый рабочий обязан пройти инструктаж по технике безопасности и
иметь не ниже третьей группы допуска по электробезопасности.
При
выполнении технологического цикла по сборке и наладке устройств необходимо
задействовать:
*
два рабочих места
для набивки печатных плат радиоэлементами;
*
два рабочих места
для управления и контроля автоматом для пайки печатных плат, контролем за
качеством пайки и устранения дефектов монтажа;
*
два рабочих места
для отладки устройства.
Таким
образом, для помещения, в котором будут выполнятся сборка и отладка устройства
выберем помещение с габаритными размерами 8х6 метров.
Помещение
располагает двумя оконными проемами, одним дверным проемом, а также имеет
внутреннюю перегородку, отделяющую производственный цех от цеха наладки, также
имеющую дверной проем.
Предположим,
что высота помещения h = 3 метра. Определим площадь и объем
помещения:
S = 6 * 8 = 48 м2 ;
V = 6 * 8 * 3 = 144 м3 ;
На
одного работающего приходится :
площадь
S* = S / 6 = 8 м2 ;
объем
V* = V / 6 = 24 м3 ;
Эти
показатели соответствуют нормативным значениям СН-245-71, где соответственно
площадь и объем приходящиеся на одного человека должны быть не менее S* = 4,5 м2 ; V*
= 15 м3 .
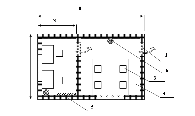
На
рисунке 6.1 приведен эскиз рабочего помещения.

где 1 –
дверь;
2 – окно;
3 – стул;
4 – стол;
5 -
распределительный щит;
6 - средство
тушения пожара.
Рисунок 6.1 - Размещение рабочих мест
на участке сборки и регулировки проектируемых устройств.
6.1.1 Освещение
Доказано,
что неудовлетворительные условия освещения заметно вредят производству, ведут
,непосредственно, к заболеваниям глаз, к их прямому травматизму. Вместе с тем,
увеличение освещенности, без учета качества освещения, может привести к общему
утомлению, снижению производительности труда и даже прямому травматизму.
Освещение устроено неправильно в тех случаях, когда на рабочем месте образуются
резкие, путающие картину правильного восприятия тени, спектр света не удовлетворяет
предъявляемым к нему требованиям, световой поток непостоянен во времени и т.
д. Для создания здоровых условий труда в производственных помещениях в дневное
время должно быть обеспечено достаточное естественное освещение. Естественная
освещенность обеспечивается определенной площадью световых проемов и их
расположением.
В
помещении применяется два вида освещения: естественное и искусственное.
Естественное
освещение осуществляется через боковые проемы в наружных стенах (окна). В
помещении имеет место одностороннее боковое освещение, которое нормируется
минимальным значением коэффициента естественного освещения в точке,
расположенной на расстоянии 1м от стены, наиболее удаленной от световых
проемов.
Работа
отнесется к IV разряду зрительной работы (высокой
точности) - при размерах объекта различения от 0,3 до 0,5 мм по СНиП-II-4-79. Санитарные нормы и правила.
Нормы проектирования Искусственное освещение применяется в темное время суток и
переходное время суток. В качестве источников искусственного освещения
используют 12 люминесцентных ламп, расположенных в два ряда.
Согласно
[СНиП II-4-79. Строительные нормы и правила.
Нормы проектирования. Естественное и искусственное освещение.], норма уровня
освещенности составляет 300 лк. В производственном помещении и при естественном
и при искусственном освещении эта норма выполняется.
Определим
коэффициент естественной освещенности (КЕО) по формуле:
КЕО=ЕН3*М*С,
где М - коэффициент светового климата (М=0,8);
С - коэффициент солнечности (С=0,7);
ЕН3 - норматив (ЕН3=1,5%).
Подставив значения,
найдем, что КЕО=0,84%.
Мероприятия, обеспечивающие выполнение
требований СНиП в помещении следующие:
·
рациональное
размещение рабочих мест;
·
регулярная очистка
стекол не реже двух раз в год;
·
проверка
соответствия освещенности нормам искусственного освещения на рабочем месте.
6.1.2
Шум и вибрация
При
регулярном воздействии шум оказывает на человека вредное физиологическое
действие, которое заключается не только в притуплении, а иногда и к полной
потере слуха. Шум, действуя на центральную нервную систему, вызывает
функциональные сдвиги вегетативной нервной системы, замедление реакции Под
воздействием шума наблюдаются ослабление памяти, остроты зрения, внимания Таким
образом, шум может явиться причиной травматизма.
Основными
источниками шума являются :
*
измерительельная
аппаратура ;
*
разговорная речь ;
*
устройства
вентиляции приборов .
Допустимый
уровень шума согласно ГОСТ 12.1.003-83 составляет 80 дБА. Ожидаемый уровень
шума не более 70 дБА. Следовательно, можно сделать вывод, что дополнительные
мероприятия по борьбе с шумом не требуются
Источников
вибрации в помещении нет, в связи с чем применять какие-либо меры виброзащиты
необходимости нет.
6.1.3
Пожаробезопасность
Как известно пожар легче предупредить, чем потушить.
Следовательно, необходимо предусмотреть все возможные причины возникновения
пожара и средства для его тушения. Пожарная безопасность помещения
регламентируется нормами ОНТП 24-86, категория В, класс помещения по ПУЭ-85 П-IIа, инструкциями по обеспечению
пожарной безопасности на отдельных объектах. В нашем помещении не хранятся и не
применяются при работе легковоспламеняющиеся вещества, а также нет горючих
жидкостей и газов, поэтому причинами возникновения пожара могут быть:
неисправность или неправильная эксплуатация электрооборудования, халатность
работающего персонала по выполнению противопожарных мероприятий.
Согласно
СНиП II 2-80, рассматриваемое нами помещение
относится к III степени огнестойкости. Горючими
компонентами в производственных и наладочных цехах являются: строительные
материалы для акустической и эстетической отделки помещений, перегородки,
двери, полы, изоляция кабелей и др.
Особое
внимание необходимо уделить к средствам тушения пожара, к которым относятся
огнетушители, сухой песок, асбестовые одеяла, пожарные стволы, внутренние
пожарные водопроводы и т.п. В зданиях пожарные краны устанавливаются в
коридорах, на площадках лестничных клеток и входов.
Для
тушения жидких и твердых веществ, а также электроустановок, находящихся под
напряжением применяются газовые и углекислотные огнетушители. В нашем
производственном помещении имеются два углекислотных огнетушителя типа ОУ – 5.
6.1.4
Метеорологические условия.
Метеорологические условия на
производстве определяются следующими параметрами: температурой воздуха в
помещении (С), относительной влажностью воздуха (%), подвижностью воздуха
(м/с), тепловым излучением (Вт/м²). Эти параметры отдельно и в
комплексе влияют на организм человека, определяя его физическое состояние и,
соответственно, производительность работы, поэтому является очень важным
соблюдение производственной санитарии, техники безопасности и обеспечение
оптимальных условий труда работающих.
Согласно [ГОСТ 12.1.005-88 ССБТ.
Воздух рабочей зоны. Общие санитарно-гигиенические требования.] выполняемую
физическую работу относим к категории 1а. К ней относятся работы, производимые
сидя, стоя или связанные с ходьбой, но не требующие систематического
физического напряжения или поднятия или переноски тяжестей. Значения параметров
метеоусловий должны удовлетворять допустимым нормам по [ГОСТ 12.1.005-88 ССБТ.
Воздух рабочей зоны. Общие санитарно-гигиенические требования], представленным таблице - 6.1.
Таблица 6.1 - Допустимые нормы
температуры, относительной влажности и скорости движения воздуха в рабочей зоне
помещения ВЦ
| Период года |
Допустимое значение температуры, С |
Допустимое значение относительной
влажности, % |
Допустимое значение скорости
движения воздуха, м/с |
| Холодный |
20-24 |
не более 75 |
не более 0.1 |
| Теплый |
22-28 |
не более 70
(при 25 °С)
|
не более 0.1-0.2 |
Реально, в помещении поддерживаются
описанные выше значения показателей благодаря наличию системы отопления и
вентиляции.
6.1.5
Эргономика и техническая эстетика
Конструкция
рабочего места и взаимное расположение всех его элементов (сиденье, органы
управления, средства отображения информации) должны соответствовать антропометрическим,
физиологическим и психофизиологическим требованиям, а также характеру работы.
Размещение
индикаторов и панелей управления производится согласно принципам:
·
функциональной
организации;
·
по значимости;
приборы сгруппированы в зависимости от того, насколько решающими они являются
для выполнения группы операций;
·
частоты
использования.
Индикаторы
занимают центральную часть. Все это соответствует требованиям ГОСТ 12.2.032-78;
ГОСТ 12.2.033-78, ГОСТ 12.2.049-80.
Конструкцией рабочего места обеспечено
оптимальное положение работающего, выполнение трудовых операций в пределах зоны
досягаемости, размещение органов управления таким образом, чтобы при работе
двумя руками не было их перекрещивания.
6.1.6
Электробезопасность
Исключительно
большое значение, для электробезопасности имеет правильная организация
обслуживания действующих электроустановок, проведения ремонтных, монтажных и
профилактических работ. При этом под правильной организацией понимается строгое
выполнение ряда организационных и технических мероприятий и средств.
Помещение
относится к классу без повышенной опасности, так как нет условий, создающих
повышенную опасность (полы покрыты изолирующим материалом, температура в
помещении не превышает 25оС).
В
помещении используется электрическое оборудование, принадлежащее к I классу Электротехнических условий по
ГОСТ 12.1.013-79.ССБТ. Электробезопасность. Общие требования, то есть изделия,
имеющие, по крайней мере, рабочую изоляцию и элемент для заземления. Все
установки работают под напряжением 220 В переменного тока.
В
помещении приняты меры безопасности при эксплуатации электроустановок.
Обеспечена недоступность токоведущих частей для случайного прикосновения (все
приборы находятся в корпусах, все панели заблокированы). Осуществляются
организационные мероприятия. Это инструктаж по технике безопасности на рабочих
местах, периодическая проверка качества заземления и сопротивления изоляции.
Кроме того применено зануление, расчет которого приведен далее.
6.2 Расчет
зануления
Опасность
поражения током при прикосновении к корпусу и другим нетоковедущим
металлическим частям электрооборудования, оказавшимся под напряжением
вследствие замыкания на корпус и по другим причинам, является основной причиной
получения персоналом травм. Эта опасность может быть устранена быстрым
отключением поврежденной установки от питающей сети и вместе с тем снижения
напряжения корпуса относительно земли. Для этой цели служит зануление.
Зануление
- преднамеренное электрическое соединение с нулевым защитным проводником
металлических нетоковедущих частей, которые могут оказаться под напряжением.
Нулевой
защитный проводник – это проводник, соединяющий зануляемые части с
глухозаземленной нейтральной точкой источника тока или ее эквивалентом.
Эквивалентом нейтральной точки источника тока могут быть: средняя точка источника
постоянного тока, заземленный вывод источника однофазного тока, искусственная
нейтральная точка сети, созданная с помощью трансформаторов, резисторов и т. п.
Принцип
действия зануления - превращение замыкания на корпус в однофазное короткое
замыкание (т.е. между фазным и нулевым защитным проводниками) с целью вызвать
большой ток, способный обеспечить срабатывание защиты и тем самым автоматически
отключить поврежденную установку от питающей сети.
Основные
требования, предъявляемые к занулению:
· проводник должен иметь проводимость не
менее 50 % от проводимости фазного провода;
· повторные заземлители должны
располагаться через каждые 250 метров, а также находится на концах линии и
ответвлений длинной более 200 метров;
· сопротивление заземления нейтрали (R0) должно быть не более 4 Ом (лишь для источников
небольшой мощности до 100 кВА сопротивление нейтрали может составлять 10 Ом );
· сопротивление заземления каждого из
повторных заземлителей (Rп) должно быть не более 10 Ом, а в сетях, в которых R0 допускается, оно может составлять 30 Ом при условии, что
число повторных заземлителей в этой сети не менее трех;
· ток короткого замыкания Iк должен в три раза превышать номинальный ток ближайшей
плавкой вставки предохранителя или номинальный ток расцепителя автоматического
выключателя;
· в одной и той же сети запрещается
одновременно выполнять защитное заземление и зануление различных корпусов.
Одновременное заземление и зануление одного оборудования не представляет
опасности и допускается.
Рисунок 6.2 - Схема зануления оборудования.
Целью
расчета зануления является определение условий, при которых оно быстро
отключает поврежденную установку от сети, выбор сечения фазного и нулевого
проводника, выбор устройства защиты, расчет повторного заземления нейтрали.
Автомат
защиты размещается в распределительном щите. Схема зануления рабочих мест
приведена на рисунке 6.2. Цифрами обозначены :
1
- распределительный щит;
2
- нейтраль источника тока;
3
- защитный нулевой проводник;
4
- повторное заземление нейтрали;
5
- рабочие места.
При
замыкании фазы на зануленный корпус электроустановка автоматически отключится,
если значение тока однофазного короткого замыкания Iк,
А, удовлетворяет условию :
Iк ≥ к * Iном ,
где:
Iк - номинальный ток плавкой вставки
предохранителя или ток срабатывания автоматического выключателя, А;
к - коэффициент кратности тока.
Для
автоматов с номинальным током до 100 А кратность тока должна быть не менее 1,4.
Определим
ток срабатывания автомата защиты. Предполагаем, что суммарная потребляемая
мощность измерительной аппаратурой, приборами освещения и другими установками и
приспособлениями не превышает 6 кВт. Тогда потребляемый ток :
Iпот
= 6000 / 220 = 27,3 А
; (6.1)
Ток
срабатывания автомата защиты должен быть больше, чем потребляемый. Автоматы,
выпускаемые промышленностью рассчитаны на стандартный ряд номинальных токов
срабатывания. Большее ближайшее значение из этого ряда составляет 30 А. Исходя
из этого выберем автомат защиты типа .
Определим ток короткого замыкания:
 ; (6.2)
где
Uф - напряжение сети ; Rф и Rн - активные, а Хф и Хн
- внутренние индуктивные сопротивления фазного и защитного нулевого
проводников соответственно ; Хп - сопротивление
взаимоиндукции петли фаза - ноль.
Для
медных и алюминиевых проводов можно пренебречь Хф и Хн.
Также для применяемого кабеля можно пренебречь величиной Хп.
С учетом сделанных допущений, а также формулы (6.1) :
; (6.3)
Полная
проводимость нулевого защитного провода согласно сделанных ранее замечаний :
Rн
≤ 2 *
Rф ; (6.4)
Пусть
Rн = 1.5*Rф , тогда формулу (3) запишем следующим
образом:
(6.5)
В
справочных данных для трансформатора мощностью 25 кВт при схеме соединения
обмоток типа «звезда» и напряжением 380/220 В полное сопротивление
трансформатора ZТ = 3,11 Ом.
Определим
сопротивление фазного провода Rф :
; (6.6)
Rф = 2,93 Ом.
Определим
сопротивление защитного провода Rн
= Rф .
Выберем
сечение проводов. При наибольшей длительно допустимой нагрузке для медных
проводов с резиновой изоляцией 30 А (при температуре окружающей среды 250С
) сечение составляет 2,5 мм2 .Сечение алюминиевых проводов при тех
же условиях - 4 мм2.
Проведем
расчет поверхностных заземлителей нейтрали. Согласно ПУЭ сопротивление
заземления нейтрали трансформатора при напряжении 380/220 В не должно превышать
4 Ом. Сопротивление каждого из повторных заземлителей должно быть не более 10
Ом.
Повторные
заземлители расположены на воздушных линиях через каждые 250 м. Рассмотрим два
варианта заземления :
1. Заземлители
расположены в черноземе.
2. Заземлители
расположены в глинистой почве.
Соответственные
расчетные удельные сопротивления на черноземе r1=200 Ом*м, на грунте r2 =40 Ом * м.
В
качестве заземлителей применим трубчатые вертикальные электроды диаметром 50 мм
и длинной 2,5 м, расположенные на глубине 0,7 м.
Определим
сопротивление растекания тока одного вертикального стержневого электрода:
; (6.7)
где l и d - длинна и диаметр электрода соответственно, м ;
t
- глубина заложения середины электрода от поверхности земли, м ;
r - расчетное удельное сопротивление
грунта, Ом*м.


1. Для чернозема Rc1 = 47,1 Ом.
2. Для грунта Rc1 = 9,4 Ом.
По
рассчитанным данным можно сделать вывод, что для обеспечения качественного
заземления на грунте достаточно одного заземленного электрода, в то время как
на глинистой почве необходимы несколько электродов, соединенные стальной
полосой сечением 4х12 мм и длинной 2,5 м. Определим сопротивление растекания
тока для полосы :
; (6.8)
где L - длинна полосы, м;
b
- ширина полосы, м;
t
- глубина заложения полосы, м.

Rп = 76 Ом
Определим
общее сопротивление заземляющего устройства расположенного на глинистой почве:
; (6.9)
где
hс и hн - коэффициенты экранирования,
приведенные в [10].

Rз = 9,1 Ом.
Таким
образом, чтобы обеспечить требуемое сопротивление повторных заземлителей не более
10 Ом необходимо применить на глинистой почве один вертикальный электрод и
шесть вертикальных электродов, соединенных стальной полосой при черноземе.
Заземлители выполнены из стальных труб длиной 2,5 м, диаметром 50 мм и вкопаны
на глубину 0.7 м.
6.3 - Охрана
окружающей среды
В наш век научно технической революции, загрязнение
окружающей среды становится важной проблемой для мирового сообщества. Основным
источником загрязнения атмосферного воздуха являются промышленные предприятия,
тепловые электростанции, автотранспорт, самолеты и сельскохозяйственное
производство. Ежегодно в атмосферу планеты выбрасывается 200 млн. т. оксида
углерода, 151 млн. т. оксида серы, свыше 500 млн. т. различных углеводородов,
более 250 млн. т. мелкодисперсных аэрозолей (пыли) и многих других веществ.
Охрана атмосферного воздуха достигается очисткой выбросов
предприятий, снижением выбросов автотранспорта, выделением санитарно-защитных
зон и применением безотходных производств. Предприятия или их отдельные здания
и сооружения с технологическими процессами, выделяющими в воздух вредные
вещества, отделяют от жилых застроек санитарно-защитными зонами (лесными
полосами или участками земли). Размеры санитарно-защитных зон в зависимости от
класса предприятия устанавливаются по санитарным нормам проектирования
промышленных предприятий СН 245-71.
На нашем предприятии в результате процесса изготовления
печатных плат и пайки выделяются большое количество пыли, паров свинца, олова
и флюсов. Очистка выбросов от пыли может быть грубой (когда задерживается
крупная пыль с размером частиц более 50 мкм), средней (задерживается пыль от 10
до 50 мкм) и тонкой (задерживается пыль до 10 мкм). Для обеспыливания выбросов
применяют пылеулавливающие устройства, которые можно разделить на две группы –
улавливающие частицы пыли в сухом состоянии («сухие» аппараты) и
газопромыватели, в которых пыль улавливается после увлажнения («мокрые»
аппараты). Сухие пылеуловители более совершенны и, кроме того, позволяют
возвратить уловленную пыль в производство. Для быстрого удаления вредных для
дыхательной системы человека веществ воспользуемся вытяжной механической
вентиляцией. В качестве устройства очистки воздуха можно применить пористые,
нитеобразные или ватообразные материалы, что уменьшит загрязнение окружающей среды
нашим предприятием.
В
ходе проделанной работы был рассмотрен ряд факторов, влияющих на
работоспособность персонала, работающего в производственном цехе по сборке и
наладке устройства измерения отношения напряжений. Был предложен ряд мер по
улучшения условий труда работающих. В завершении был произведен расчет
зануления и поднят вопрос об охране окружающей среды. Были рассмотрены причины
загрязнения природы, и был предложен вариант очистки производственных выбросов.
7 ГРАЖДАНСКАЯ ОБОРОНА
7.1
Оценка устойчивости производства измерителя отношения напряжений при
загрязнении радиоактивными веществами после аварии на АЭС
При
разработке дипломного проекта следует уделять внимание не только
электрическому, конструктивно – технологическому расчету, но и следует
предусмотреть меры безопасности жизнедеятельности обслуживающего персонала при
изготовлении печатной платы от крупных различных аварий, стихий, в частности,
нужно обеспечить устойчивую работу устройства в условиях повышенной радиации.
Современный
этап развития мировой экономики характеризуется неустанным ростом ядерной
энергетики. В настоящее время на Украине находится в эксплуатации 4 атомных
электростанции (13 реакторов), что составляет 40% энергии, производимой на АЭС
страны. Эксплуатация объектов с ядерными компонентами сопровождается авариями,
утечкой радиоактивных веществ, что наносит значительный политический,
экономический, экологический и психологический ущерб. Последствия таких аварий
могут иметь непредсказуемые результаты.
Наличие
радиоактивных продуктов, которые определяют радиационную обстановку в районе
АЭС и зонах радиоактивного загрязнения, оказывает существенное влияние на
действия формирований, режимы проживания населения и на проведение аварийно –
спасательных работ. Радиоактивное имеет ряд особенностей, отличающих его от
других поражающих факторов ядерного взрыва. К ним относятся: большая площадь
поражения, до десяти тысяч квадратных километров; длительное сохранение
поражающего действия (иногда до месяца), а также трудность обнаружения
радиоактивных веществ не имеющих цвета, запаха и других внешних признаков. Вот
почему необходимо произвести оценку радиационной обстановки при аварии наАЭС
методом прогноза.
Исходными
данными для оценки радиационной обстановки являются:
-
Тип реактора – 1;
-
Доля выброшенных
радиоактивных веществ из реактора – n =
30%;
-
Расстояние от
объекта до аварийного реактора – Rx
= 33.7 км;
-
Время аварии
реактора – Тав = 10.00 час;
-
Продолжительность
работы на объекте – Траб = 12 час;
-
Допустимая доза
облучения – Дуст = 0.3;
-
Коэффициент
ослабления радиации – Косл = 3;
-
Скорость ветра на
высоте 10 метров – V10 = 5 м/с;
-
Облачность- 3 балл;
-
Время начала работ
на объекте – Тнач = 2 час.
1. Oпределяем категорию устойчивости
атмосферы, соответствующую погодным условиям и заданному времени суток. По
условию: облачность отсутствует (3 балла), день, скорость приземного ветра V10 = 5 м/с. Согласно таблице 2.1 категория устойчивости Д –
нейтральная (изометрия).
2. Определяем
среднюю скорость ветра Vср в слое распространения радиоактивного облака. Согласно
таблице 2.2 для категории устойчивости Д и скорости приземного ветра V10 = 5 (м/с) средняя скорость ветра 5 (м/с).
3. Для заданного
типа ЯЭР (РБМК – 1000) и доли выброшенных радиоактивных веществ (n = 30%), определяем размеры
прогнозируемых зон загрязнения местности и наносим их в масштабе в виде
правильных эллипсов.
| Индекс зоны |
М |
А |
Б |
В |
| Длина зоны,
км |
496,2 |
126,4 |
33,7 |
9,96 |
Рисунок
7.1 - Размеры прогнозируемых зон загрязнения местности
4. Исходя из
заданного расстояния от объекта народного хозяйства (Rx = 33,7 км) до аварийного реактора с
учетом образующихся зон загрязнения устанавливаем, что объект оказывается на
внешней границе зоны Б.
5. Определяем время
начала формирования радиоактивного загрязнения (tф)
после аварии. Для Rx = 33,7 км, V
= 5 м/с, категории устойчивости Д и средней скорости ветра Vср = 5 м/с, tср
= 1,5 час.
Следовательно, объект народного хозяйства через 1,5 часа после аварии окажется
в зоне радиоактивного загрязнения, что потребует принятия дополнительных мер
защиты рабочих и служащих.
6. По таблице для
зоны загрязнения Б с учетом времени начала работ (Тнач = 2 час) и
продолжительности работы (12.00 час) определяем дозу облучения, которую получат
рабочие и служащие объекта при открытом расположении объекта на краю зоны Б.
; .
С учетом
нахождения объекта на внешней границе зоны ''Б'' дозу облучения определяем по
формуле:
, где принимают
равным значению, согласно исходным данным.

Расчеты
показывают, что рабочие и служащие объекта за 12 часов работы получат дозу
облучения 3,33 (рад), что превышает допустимую дозу облучения:

7. С учетом
нахождения объекта на внешней границе зоны ''Б'' дозу облучения определяем по
формуле:

Расчеты
показывают, что рабочие и служащие объекта за 7 часов работы получат дозу
облучения 3,33(рад), что превышает допустимую дозу облучения:

8. Используя данные
таблицы 2.10, определяем допустимое время начала работы рабочих и служащих
объекта после аварии на АЭС при условии получения Добл не более 5
рад:



Следовательно,
рабочие и служащие объекта, чтобы получить дозу не выше установленной могут
начинать работу в зоне ''Б'' и выполнить ее в течении 1 часов, не ранее, чем
через 2 месяца после аварии на АЭС.
Таким
образом, на основании исходных данных и полученных расчетов предусмотрены
следующие мероприятия по защите различных категорий личного состава объекта,
оказавшегося в зоне радиоактивного загрязнения местности.
Таблица 7,1 –
Расчетные данные

Основные
мероприятия:
1.
Обеспечить
круглосуточное радиационное наблюдение измерения проводить через каждые 1,5
часа в соответствии с расчетом ;
2.
При обнаружении
превышения допустимой дозы облучения ,а именно 0,3(рад), прохождении
радиоактивного облака рабочих и служащих объекта укрыть в убежище;
3.
До спада уровня
радиации ниже 0,3 рад личные силы персонала должны находится на загрязненной
местности в респираторах;
4.
Во избежание
переоблучения рабочие и служащие объекта могут возобновить работу в зоне «Б» и
выполнить ее в течении 1 часа, но не ранее, чем через 2 месяца после аварии на
АЭС, в это время , после аварии, укрываться в убежищах;
5.
Для исключения
заноса радиоактивных веществ необходимо провести герметизацию помещений или
установить фильтровентиляционные агрегаты, провести дезактивационные работы.
|