рефераты бесплатно
рефераты бесплатно
Главная
Исторические личности
Журналистика
Зоология
Инвестиции
Информатика
История техники
Кибернетика
Коммуникация и связь
Косметология
Криминалистика
Криминология
Кулинария
Культура и искусство
Культурология
Международное публичное право
Международное частное право
Международные отношения
Менеджмент
Металлургия
Налогообложение
Наука и техника
Сельское лесное хозяйство и землепользование
Социальная работа
Социология и обществознание
Спорт и туризм
Строительство и архитектура
Таможенная система
Транспорт

Реферат: Лабараторные работы по генерированию


Реферат: Лабараторные работы по генерированию

Лабораторная работа № 1

ИССЛЕДОВАНИЕ ВЛИЯНИЯ ДЕСТАБИЛИЗИРУЮЩИХ ФАКТОРОВ НА СТАБИЛЬНОСТЬ КОЛЕБАНИЙ АВТОГЕНЕРАТОРОВ С

ПАРАМЕТРИЧЕСКОЙ И КВАРЦЕВОЙ СТАБИЛИЗАЦИЕЙ


Цель работы

1. Научиться исследовать и анализиро­вать работу автогенераторов с параметрической и кварцевой стабилизацией.

2. Оценить влияние дестабилизирующих факторов на работу автогенераторов.

Содержание работы

1. Изучение физических процессов в схемах автогенерато­ров с параметрической и кварцевой стабилизацией частоты.

2. Изучение принципиальной схемы лабораторной установки на базе радиостанции "Карат".

3. Исследование влияния дестабилизирующих факторов на частоту автогенератора с параметрической стабилизацией.

4. Исследование влияния дестабилизирующих факторов на частоту автогенератора с кварцевой стабилизацией.

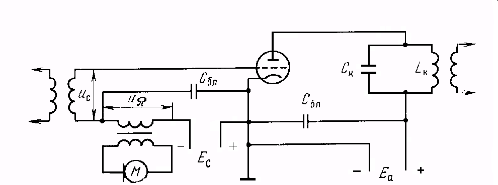
Рис.1. Принципиальная схема лабораторной установки по исследованию влияния дестабилизирующих факторов на работу автогенераторов

Описание лабораторной установки

Лабораторная установка выполнена на базе типовой ко­ротковолновой радиостанции "Карат" и позволяет провести иссле­дование автогенераторов с параметрической и кварцевой стаби­лизацией частоты. В качестве измерителя частоты автогенерато­ра служит цифровой частотомер Ч3-34. Пульт управления лабора­торной установкой позволяет осуществлять необходимые переклю­чения и регулировки, а также регулировку питающего автогенератор напряжения.

Порядок выполнения работы

Изучать принципиальную схему лабораторной установки.

Проанализировать работу автогенераторов с параметрической и кварцевой стабилизацией частоты колебаний (в соответствии с приложением 1).

Проанализировать порядок снятия характеристик автогенератора (в соответствии с рис.2).

Р
ис. 2. Структурная схема установки по исследованию влияния дестабилизирующих факторов на работу автогенераторов


4. Исследовать влияние дестабилизирующих факторов на час­тоту автогенератора с параметрической стабилизацией, для че­го:

а) подготовить к работе электронно-счетный частотомер (режим ручного счета);

б) включить установку, переключатель ОПГ - ОКГ в положение " ОПГ ";

в) установить величину напряжения питания Uпит = 10 В;

г) измерить уход частоты автогенератора, для чего:

быстро замерить частоту с помощью частотомера, записать показания частотомера f0 и время t ;

произвести последующие измерения частоты через каждую ми­нуту в течение 10 минут;

д) данные измерений и вычислений занести в табл. 1;

е) по данным табл. 1 построить график зависимости Δf / f0= φ(t)


Таблица 1.1

t , мин 1 2 3 4 5 6 7 8 9 10

f0, кГц

150,15 150,19 150,21 150,24 150,22 150,23 150,23 150,24 150,23 150,23

Δf / f0

-0,000999 -0,0013 -0,0014 -0,0016 -0,0015 -0,0015 -0,0015 -0,0016 -0,0015 -0,0015

Таблица 1.2

t , мин 1 2 3 4 5 6 7 8 9 10

f0, кГц

150,01 150,02 150,02 150,024 150,029 150,02 150,018 150,018 150,018 150,02

Δf / f0

-0,000066662 -0,000133316 -0,000133316 -0,000159974 -0,000193296 -0,000133316 -0,000119986 -0,000119986 -0,000119986 -0,000133316

5. Исследовать зависимость частоты от измерения напряже­ния питания, для чего:

а) установить Uпит = 10 В;

б) уменьшая через I B напряжение питания, измерить частоту генерируемых колебаний;

в) данные измерений занести в табл. 2.

г) по давним табл. 2 построить график зависимости Δf / f0 = φ( Uпит ).

Таблица 2.2

UПИТ, В

10 9 8 7 6 5 4 3 2 1

f0, кГц

150,15 150,23 150,25

150,27

150,27 150,28 150,28

Срыв генерации

(не функц.)

Δf / f0

0,000999001

0,001530986

0,001663894

0,001796766

0,001796766

0,001863189

0,001863189


Таблица 2.2

UПИТ, В

10 9 8 7 6 5 4 3 2 1

f0, кГц

150,01 150,02 150,02 150,025 150,02 150,02 150,025

Срыв генерации

(не функц.)

Δf / f0

0,000066662

0,000133316

0,000166639

0,000133316

0,000133316

0,000166639

0,000166639


Вывод: Проведя лабораторную работу, исследовали и проанализировали работу автогенераторов с параметрической и кварцевой стабилизацией, построили графики зависимостей Δf / f = φ(t) и Δf / f = φ( Uпит ).


Графики зависимостей Δf / f = φ(t) и Δf / f = φ( Uпит ).



Overview

calcul
graph1

Sheet 1: calcul

150.15 150.19 150.21 150.24 150.22 150.23 150.23 150.24 150.23 150.23
0 0 0 0 0 0 0 0 0 0






























150.01 150.02 150.02 150.02 150.03 150.02 150.02 150.02 150.02 150.02
0.000066662 0.000133316 0.000133316 0.000159974 0.000193296 0.000133316 0.000119986 0.000119986 0.000119986 0.000133316


















































10 9 8 7 6 5 4 3 2 1
150.15 150.23 150.25 150.27 150.27 150.28 150.28 x x x
0.000999001 0.001530986 0.001663894 0.001796766 0.001796766 0.001863189 0.001863189












10 9 8 7 6 5 4 3 2 1
150.01 150.02 150.03 150.02 150.02 150.03 150.03 x x x
0.000066662 0.000133316 0.000166639 0.000133316 0.000133316 0.000166639 0.000166639


Sheet 2: graph1






















Лабораторная работа

ИССЛЕДОВАНИЕ АМПЛИТУДНОЙ МОДУЛЯЦИИ

Цель работы

1. Научиться исследовать энергетические и качественные характеристики сигнала при амплитудной коллек­торной модуляции.

2. Приобрести навыки в работе по исследованию амплитудной модуляции радиосигналов.

Содержание работы

1. Изучение лабораторной установки.

2. Снятие динамической амплитудной модуляционной харак­теристики.

3. Снятие частотной модуляционной характеристики.

Описание лабораторной установки


Лабораторная установив выполнена на базе KB радиостанции "Карат" и позволяет провести исследование модулируемых каска­дов усилителя мощности (ГВВ).

Измерительные приборы позволяют контролировать токи (напряжения) в различных цепях лабораторной установки:

в качестве источника сигнала используется генератор низ­кой частоты ГЗ-106, выходное напряжение которого поступает на вход модулятора;

для измерения нелинейных искажений КГ используется прибор C6-IA ;

коэффициент глубины модуляции измеряется прибором C2-11;

осциллограф служит для визуального наблюдения за формой выходного сигнала;

пульт управления лабораторной установкой позволяет осу­ществить необходимые переключения.

Порядок выполнения работы

  1. Изучить принципиальную схему лабораторной установки (рис. 1) и порядок работы с измерительными приборами.

2. Собрать лабораторную установку в соответствии со структурной схемой (рис. 2).

3. Снять амплитудную модуляционную характеристику, для чего:

а) включить установку и установить режим несущей часто­ты;

б) на вход модулятора подать модулирующее напряжение от звукового НЧ-генератора с частотой = 1000 Гц;

в) подключить к выходу ВЧ (антенне) измеритель коэффици­ента глубины модуляции и осциллограф;

г) к измерителю коэффициента глубины модуляции (гнездо "Выход огибающей") подключить измеритель коэффициента нели­нейных искажений;

д) увеличивая амплитуд модулирующего напряжения UΩ от "0" до появления перемодуляции сигнала, измерить коэффициент глубины модуляции m;

е) результаты измерений занести в табл. 1.

ж) по данным табл. 1 построить зависимости m = f (UΩ);



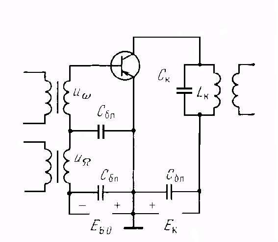
Рис.1. Принципиальная схема лабораторной установки


Рис.2. Структурная схема лабораторной установки

4. Снять частотную модуляционную характеристику, для че­го:

а) сохранить режим работы передатчика, установленный для выполнения предыдущего пункта работы;

б) установить модулирующее напряжение UΩ при FΩ= 1000 Гц таким, чтобы коэффициент глубины модуляции m = 0,7;

в) изменяя частоту модулирующего напряжения от 20 Гц до 20000 Гц, измерить коэффициент глубины модуляции m ;

г) результаты измерений занести в табл. 2.

д) по данным табл. 2 построить графики зависимости m = f (FΩ ).

Таблица 1

0 1 2 3 4 5 6 7 8
m 0 0,2 0,44 0,6 0,82 0,9 1 1 1

Таблица 2

50

1000

2000

4000

10000

15000

17000

19000

20000

m

0,3

0,7

0,75

0,732

0,349

0,196

0,136

0,13

0,09


Содержание отчета

  1. Цель работы

  2. Содержание работы

  3. Структурная схема лабораторной установки.

  4. Принципиальная схема лабораторной установки.

  5. Таблицы результатов измерений и вычислений.

  6. Графики снятых зависимостей.

  7. Выводы и обоснования по результатам исследований.


Контрольные вопросы

  1. Поясните необходимость управления колебаниями радиочастоты передатчика

2. Что такое модуляция? Назовите виды ее.

3. Что такое амплитудная модуляция?

4. Назовите способы осуществления амплитудной модуляции.

5. Напишите уравнение амплитудно- модулированных колебаний.

6. Назовите спектры частот модулирующих колебаний.

7. Отчего зависит ширина спектра частот при амплитудной модуляции?

8. Что такое боковые частоты и боковые полосы?

9. Нарисуйте принципиальную схему модуляции изменением напряжения смещения и поясните ее работу.

10. Как выбрать положение рабочей точки на характеристике электронного прибора?

11. Зачем необходим нелинейный элемент в схеме амплитудной модуляции?

12. В чем заключаются особенности модуляции изменением напряжения смещения?

13. Нарисуйте схему базовой модуляции и поясните принцип работы.

14. Поясните особенности базовой модуляции.


Приложение 1.

1. ВИДЫ И АНАЛИЗ АМПЛИТУДНОЙ МОДУЛЯЦИИ

Радиочастотные колебания, создаваемые радио­передатчиком и излучаемые его антенной в виде электромагнит­ных волн, используются для передачи информации потому, что они легко распространяются на большие расстояния.

Сообщения, которые необходимо передавать, чаще всего пред­ставляют собой низкочастотные колебания. Так, механические ко­лебания звука, преобразованные микрофоном в электрические, представляют собой колебания низкой частоты. Такие колебания не могут распространяться на большие расстояния. Поэтому спектр низкочастотного сигнала необходимо перенести в область радиочастот. Для этого необходимо осуществить управление ими.

Процесс управления колебаниями радиочастоты с помощью ко­лебаний низкой частоты называется модуляцией.

Модуляция осуществляется с помощью специального устройст­ва, называемого модулятором. На один вход модулятора подается напряжение радиочастоты, на другой — низкочастотный переда­ваемый сигнал. На выходе модулятора получается модулирован­ное колебание.

Радиочастотные колебания, осуществляя перенос сигнала, сох­раняют его свойства. Они называются несущими.

Радиочастотные колебания характеризуются тремя параметра­ми: амплитудой, частотой и фазой. Они связаны соотношением i = IHcos(ωt + φ).

Для осуществления модуляции необходимо изменять во вре­мени один из параметров радиочастотного колебания в соответст­вии с передаваемым сигналом. В зависимости от того, какой из параметров радиочастотного колебания изменяется, различают амплитудную, частотную и фазовую модуляцию.

При работе передатчика в импульсном режиме для осуществ­ления модуляции изменяется один из параметров импульсов. Та­кая модуляция называется импульсной.

Для передачи телеграфных сигналов изменяют один из пара­метров радиочастотных колебаний в соответствии с телеграфным кодом. Радиотелеграфную модуляцию называют манипуляцией. Различают соответственно манипуляцию амплитудную, частотную и фазовую.

Амплитудной модуляцией называется процесс изменения амп­литуды колебаний радиочастоты в соответствии с изменением амп­литуды колебаний низкой частоты передаваемого сигнала.

Передаваемое колебание, например речь, музыка, является сложным колебанием. И его можно рассматривать как сумму простых гармонических составляющих колебаний различных амп­литуд, частот и фаз.

Для простоты анализа рассмотрим модуляцию одним тоном частоты Ω, т. е. когда перед микрофоном звучит однотонное коле­бание одной частоты. График его можно представить в виде гар­монического (синусоидального или косинусоидального) колеба­ния, как показано на рис. 1, а аналитически записать выражени­ем uΩ=UΩ cos Ωt. При амплитудной модуляции по закону измене­ния модулирующего колебания, в данном случае по закону cos Ωt, должна изменяться амплитуда тока радиочастоты. Это означает, что во время положительного полупериода звукового колебания амплитуда радиочастотного тока возрастает (точки 2—4 на рис. 1), а во время отрицательного полупериода — уменьшается (точки 4—6 на рис. 1).

Рис. 1. Временная диаграмма амплитудно-модулированных колебаний

И
зменение амплитуды радиочастот­ных колебаний математически можно выразить следующим обра­зом. Уравнение тока в антенне или в выходной цепи модулируе­мого каскада до модуляции имеет вид i = IНЕСсоsωHt. Это колебание называется несущим. В процессе модуляции амплитуда тока IНЕС получает приращение ΔIНЕС, причем это приращение изменяется по закону изменения модулирующего сигнала ΔIНЕС cos Ωt.

Рис. 2. Графики амплитудно-модулированных при различной глубине модуляции:

m 1(в,г)

Тогда выражение тока радиочастоты при модуляции принимает вид

i = ( IНЕС + ΔIНЕС cos Ωt) соsωHt.

Выполняя дальнейшее преобразование выражения тока моду­лированных колебаний, получаем

i = IНЕС ( 1 + ΔIНЕС / IНЕС cos Ωt) соsωHt = IНЕС ( 1 + m cos Ωt) соsωHt .

Отношение приращения амплитуды тока несущей частоты при модуляции ΔIНЕС к его значению до модуляции IНЕС обозначают буквой m и называют коэффициентом глубины модуляции или глу­биной модуляции.


Рис.3. Спектр частот при амплитудной модуляции

Значение коэффициента глубины модуляции m зависит только от амплитуды модулирующего колебания. Например, при передаче речи или музыки — от громкости звука. При линейной модуляции коэффициент m прямо пропорционален амплитуде напряжения мо­дулирующего сигнала m= aUΩ, где a — коэффициент пропорцио­нальности. На рис. 2 приведены временные диаграммы амплитудно-модулированных колебаний при различных коэффициентах модуляции m. При m = 0 модуляции нет. При m = 0,5 (50%) ампли­туда напряжения модулирующих колебаний такова, что вызывает изменение амплитуды радиочастотных колебаний до половины первоначального значения. При m = l ( UΩ= Uω) (стопроцентная модуляция) амплитуда радиочастотных колебании увеличивается в 2 раза. В этих двух случаях огибающая амплитуд модулиро­ванных колебаний точно (без искажении) воспроизводит форму сигнала. При дальнейшем увеличении амплитуды напряжения сиг­нала m > l (UΩ > Uω ) получается перемодуляция. Во время отри­цательного полупериода сигнала часть колебаний радиочастоты срезается (точки 1—2 на рис. 2,б) и форма огибающей модули­рованных колебаний искажается. Возникают нелинейные искаже­ния формы передаваемого сигнала. Следовательно, для осуществ­ления амплитудной модуляции без искажений коэффициент мо­дуляции m не должен превышать единицы.

Выражение для тока амплитудно-модулированных колебаний можно представить в следующем виде:

I =Iа несcos ωнеct+0,5 т Iа нес cos (ωнеc + Ω) t + 0,5 т Iа нес cos (ωнеc - Ω) t.

Видно, что промодулированное по амплитуде колебание явля­ется сложным и состоит из трех составляющих:

1) колебания несущей частоты ωнеc с амплитудой Iа нес , такой же, как и до модуляции;

2) колебания с частотой ωнеc + Ω и амплитудой 0,5 Iа нес , назы­ваемого колебанием верхней боковой частоты;

3) колебания с частотой ωнеc - Ω и амплитудой 0,5 Iа нес , называе­мого колебанием нижней боковой частоты.

Графически спектр колебаний, промодулированных по ампли­туде низкочастотным колебанием одной частоты Ω , можно изобра­зить, как показано на рис. 3,а. Видно, что при амплитудной мо­дуляции одним тоном частоты и спектр модулированного колеба­ния содержит три гармонических колебания — несущую и два боковых, каждое из которых находится на расстоянии, равном частоте модулирующего колебания.

Но речь или музыка являются сложными колебаниями. Их можно представить состоящими из гармонических колебании. Тог­да при модуляции сложным колебанием модулированное колеба­ние содержит столько нижних и верхних боковых составляющих, сколько их имеется в спектре модулирующего сигнала. В резуль­тате в составе модулированного колебания будет две полосы час­тот: нижняя боковая и верхняя боковая (рис. 3,б).

1.1. Полоса частот и баланс мощностей.

Общая ширина полосы частот амплитудно-модулированных колебаний равна удвоенной максимальной частоте модуляции:

(ωнеc + Ω) - (ωнеc - Ω) = 2 ΩМАКС. Звуковые колебания занимают спектр частот 20...20000 Гц. Однако разборчивость речи оказывается достаточной при вос­произведении полосы частот в пределах 300...4500 Гц. При этом полоса амплитудно-модулированного колебания составит 9000 Гц. Расстояние между несущими частотами соседних радиопередатчиков в этом случае составляет 10 кГц (рис. 3,б). Ширина спектра модулирующего сигнала определяется соответствующими стандар­тами на каналы связи, вещания, передатчики и приемники.

При амплитудной модуляции амплитуда тока в нагрузке не­прерывно изменяется от Iмин до IMакс. Следовательно, и режим мо­дулируемого генератора также изменяется. В процессе амплитуд­ной модуляции различают следующие режимы работы модулируе­мого каскада:

режим несущей частоты или режим молчания, когда генератор радиочастоты включен, а микрофон не включен и модуляция от­сутствует;

максимальный режим или режим максимальной колебатель­ной мощности при наибольшем значении тока и максимальном коэффициенте модуляции;

минимальный режим или режим минимальной мощности при наименьшем токе;

режим средней мощности за период одного периода модули­рующего низкочастотного сигнала.

Для упрощения предположим, что модуляция симметричная, линейная, неискаженная осуществляется синусоидальным напря­жением. Модулированный по амплитуде ток проходит через ак­тивное сопротивление нагрузки RH или антенны Ra.

В отсутствие модулирующего напряжения, т. е. в режиме мол­чания, несущее колебание создает на сопротивлении нагрузки мощность Рн=0,5I2HRH.

В процессе модуляции изменяется амплитуда тока, а следова­тельно, и мощность на нагрузке:

в минимальном режиме PМИН=0,5 I2МИНRH =0,5[IH(1 – m)]2RH = Рн ( 1-m)2 ,

в максимальном режиме PMакс=0,5 I2МАКСRH =0,5[IH(1 + m)]2RH = Рн ( 1+ m)2.

Из этих выражений видно, что при стопроцентной (m = 1) мо­дуляции мощность в максимальном режиме в 4 раза больше, чем в режиме несущей частоты. В минимальном режиме при m = 1 РМИН = Рн(1-m)2= 0.

Средняя мощность РСР, выделяющаяся на нагрузке за период действия модулирующего сигнала, складывается из мощностей несущего и двух боковых колебаний: РСР=РН – РН.Б + РВ.Б , РБ =0,5I2БRH=0,5()2RH=0,5RH=PH, PCP=PH +2PБ = 0,5I2H RH +2(0,5()2 R) = PH(1+0,5m2).

Отсюда видно, средняя мощность больше мощности несущих колебаний в (1+0,5m2) раз и при 100%-ной модуляции в полтора раза больше ее: РCP= 1,5РH.

Мощности РH и PCP—это мощности за продолжительный промежуток времени, в то время как мощности РМАКС и РМИН имеют мгновенный характер.

Рассматривая график спектрального состава модулированных колебаний, видим, что вся полезная информация о передаваемом сигнале содержится в боковых составляющих. А из полученных выше выражений следует, что при m = 1 мощность двух боковых частот в 2 раза меньше мощности несущей и в 8 раз меньше пи­ковой максимальной мощности. Практически коэффициент моду­ляции т ≈ 0,3. При этом амплитуды тока боковых составляющих будут меньше и составят 0,3IH/2, т. е. уменьшатся в 1/0,3 ≈ 3,3 раза, а мощности боковых частот уменьшатся в 3,32 = 10 раз. По­этому амплитудная модуляция энергетически невыгодна.

Другим недостатком амплитудной модуляции является широ­кая полоса частот, занимаемая модулированным колебанием, она вдвое шире спектра модулирующего сигнала.

Но амплитудная модуляция имеет важные достоинства, обус­ловливающие широкое применение ее в массовом радиовещании. К ним относится простота приемников для приема амплитудно-модулированных колебаний.

В основном амплитудная модуляция используется в радиовеща­тельных системах длинных, средних и коротких волн, а также для передачи изображения в телевизионных передатчиках метровых и дециметровых волн.

1.2.Способы осуществления амплитудной модуляции. Анализ модулированных по амплитуде колебаний показывает, что в процессе модуляции появляются новые частоты — боковые, которых не бы­ло на входе модулирующего устройства. Новые частоты, как из­вестно, могут появиться только на выходе устройства, имеющего нелинейную вольт-амперную характеристику. Следовательно, для осуществления амплитудной модуляции необходим нелинейный элемент. Такими нелинейными элементами могут быть электрон­ные приборы, лампы, транзисторы, диоды и др., обладающие не­линейной вольт-амперной характеристикой.

Для осуществления амплитудной модуляции модулирующее на­пряжение вводится в цепь питания одного или нескольких элект­родов электронного прибора. При изменении напряжения питания одного электрода модуляция называется простой или одинарной. Если же изменяется напряжение питания нескольких электродов, модуляция называется комбинированной. В зависимости от того, на какой электрод подается модулирующее напряжение, различа­ют следующие виды амплитудной модуляции: сеточную, базовую, анодную, коллекторную и анодно-экранную.

2. СЕТОЧНАЯ МОДУЛЯЦИЯ

Сеточной модуляцией называется управление колебаниями радио­частоты изменением напряжения на управляющей сетке лампы по закону изменения модулирующего сигнала.


Рис.4. Схема модуляции на сетку смещения

Модулирующее напряжение можно вводить в цепь любой сет­ки—управляющей, экранирующей или защитной. При модуляции на управляющую сетку различают две разновидности модуляции:

а) изменением напряжения смещения и б) изменением напряже­ния возбуждения, т. е. усилением модулированных колебаний.

Модуляция изменением смещения на управляющей сетке лам­пы осуществляется включением модулирующего напряжения в цепь управляющей сетки последовательно с напряжением смеще­ния, как показано на рис. 4. В результате такого включения напряжений в цепи сетки будут действовать три напряжения: пос­тоянное напряжение смещения ЕC, напряжения возбуждения ра­диочастоты uC=UCcosωt и модулирующее напряжение звуковой частоты uΩ =UΩcosωt.


Рис.5. Графики напряжений и токов при сеточной модуляции

Рассмотрим физические процессы в генераторе при модуляции на сетку смещением. Сначала после включения источника питания в цепь сетки включается напряжение смещения ЕC. Значение его выбирают таким, чтобы исходная рабочая точка находилась на нелинейном участке характеристики лампы Ia = f(eC) (в точке 0 на рис. 5). Затем включается напряжение возбуждения несущей частоты uC= UC cosωt (точка 1 на оси времени на рис. 5). При действии в цепи сетки двух напряжений в цепи анода ток будет протекать в виде периодической последовательности импульсов с постоянной амплитудой и углом отсечки θ = 90°. В составе этих импульсов имеется первая гармоника анодного тока Ia1. Затем включается модулирующее напряжение uΩ =UΩcosωt (точка 2). Частота модулирующего напряжения Ω во много (десятки тысяч раз) меньше несущей частоты ω. Поэтому мгновенное значение модулирующего напряжения по сравнению с несущей изменяется настолько медленно, что за один период несущей его можно счи­тать неизменным. Это дает возможность еще считать, что моду­лирующее напряжение по отношению к напряжению несущей час­тоты проявляется как постоянное напряжение смещения. Отсюда и название: модуляция изменением напряжения смещения. Но это напряжение смещения изменяется по звуковому закону. В даль­нейшем рабочая точка перемещается по характеристике лампы в соответствии с изменением модулирующего напряжения.

Таким образом, в результате изменения напряжения смещения амплитуда импульсов анодного тока, угол отсечки θ , а следова­тельно, и амплитуда первой гармоники анодного тока изменяются по звуковому закону, вследствие чего и осуществляется амплитуд­ная модуляция (точки 3, 4, 5 и 6 на рис. 5).


3. МОДУЛЯЦИЯ НА БАЗУ ТРАНЗИСТОРА

В
транзисторных каскадах передатчиков одуляция на базу мо­жет осуществляться как изменением напряжения смещения, так и изменением напряжения возбуждения.

Рис.6. Схема базовой модуляции смещением

Для осуществления базовой модуляции смещением модули­рующее напряжение вводится в цепь базы транзистора последова­тельно с напряжением смещения и напряжением возбуждения, как показано на рис. 6. Так как для осуществления модуляции не­обходим нелинейный элемент, то напряжение смещения выбира­ется таким, чтобы рабочая точка в исходном режиме находилась левее начала характеристики (точка А на рис. 7,а). При этом в цепи базы протекает незначительный отрицательный ток IБ 0 (рис. 7,а). Транзистор закрыт, и в цепи коллектора ток не про­текает.

Р

ис.7.Физические процессы при модуляции на базу смещением ( а,б,в)


Рис.7. Физические процессы при модуляции на базу смещением (г, д, е)

Если в цепи базы кроме напряжения смещения и напряжения возбуждения включено и звуковое напряжение uΩ =UΩcosωt, то результирующее напряжение еБ = ЕБ 0 + UΩcosωt + Uω cos ωt . Так как напряжение звуковой частоты изменяется значительно медлен­нее, чем напряжение возбуждения, то напряжение звуковой частоты проявляется по отношению к напряжению возбуждения, как напря­жение смещения. Поэтому при модуляции рабочая точка будет пере­мещаться по характеристике, как показано на рис. 7,г (точки А— A'). В результате изменяются амплитуда импульсов коллекторно­го тока и угол нижней отсечки θ (рис. 7,д). Поэтому в нагрузоч­ном колебательном контуре амплитуда тока будет изменяться по закону звуковой частоты (рис. 5.9,е). Ток в цепи базы во время положительного полупериода звукового напряжения протекает в виде импульсов меняющейся полярности. Во время отрицательного полупериода ток в цепи базы—постоянный отрицательный.

Модуляционные характеристики коллекторного тока при базо­вой модуляции приведены на рис. 8. Зависимость первой гар­моники коллекторного тока IK1 от напряжения смещения EБ назы­вается статической модуляционной характеристикой. Она имеет нижний и верхний изгибы за счет изгибов статических характери­стик транзистора. На основном рабочем участке статические мо­дуляционные характеристики практически прямолинейны.

Рис. 8. Модуляционные ха­рактеристики коллекторного тока при базовой

модуляции смещением

Рабочую точку в режиме мол­чания надо выбирать на середине прямолинейного участка модуля­ционной характеристики, что дос­тигается выбором соответствующе­го напряжения смещения ЕБ. В ре­жиме максимальной мощности ге­нератор работает в оптимальном режиме (точка Iк1 макс на рис. 8). Как видно из характеристик, моду­лируемый генератор при базовой модуляции все время работает в недонапряженном режиме, дости­гая оптимального режима только в моменты максимумов звукового напряжения. Поэтому КПД кол­лекторной цепи генератора при базовой модуляции смещением низкий, что ограничивает применение этого вида модуляции.

Базовая модуляция находит применение в качестве элемента комбинированной коллекторной модуляции.

При базовой модуляции возбуждением по закону изменения модулирующего напряжения изменяется амплитуда напряжения в цепи базы, а напряжение базового смещения и коллекторное на­пряжение не изменяются. При этом происходит усиление модули­рованных колебаний. Поэтому она возможна в режимах колеба­ний класса В, так и в режиме колебаний класса А. Однако режим колебаний класса А из-за низкого КПД применять нецелесообразно.

Достоинство базовой модуляции возбуждением в том, что мо­дуляционная характеристика при соответствующем выборе режи­ма генератора может быть более линейной, чем при базовой мо­дуляции смещением. Кроме того, при выборе угла отсечки θ =90° можно получить углубление модуляции, то есть в коллекторной цепи 100%-ную модуляцию при глубине модуляции в базовой цепи меньше единицы.


4. УСИЛЕНИЕ МОДУЛИРОВАННЫХ КОЛЕБАНИЙ

В тех радиопередающих устройствах, в которых сеточная модуля­ция осуществляется в одном из промежуточных каскадов, после­дующие каскады работают в режиме усиления модулированных колебания. Таком принцип построения передающего устройства используется при построении маломощных связных и вещательных передатчиков.

Для усиления модулированных колебаний используются гене­раторы с внешним возбуждением, на управляющую сетку лампы которых подастся промодулированное по амплитуде напряже­ние uВХ =UВХ.НЕС (1+mВХcosΩt)cosωН.

При неискаженном усилении амплитуда первой гармоники вы­ходного тока

IВЫХ1 = IВЫХ.НЕС(1+mВЫХcosΩt) .

Неискаженное усиление модулированных колебаний просто осуществляется при работе каскада в режиме класса А. Однако при m =1 неискаженное усиление модулированных колебании можно по­лучить и при угле отсечки анодного тока θ =90°.

Рис. 9. Углубление модуляции в усилителе модулирован­ных колебаний

Статические модуляционные характеристики усилителя модули­рованных колебаний Ia1=f(UC) или Iа0=f(UC)оказываются ли­нейными только при работе генератора в недонапряжённом режи­ме и имеют изгиб при переходе генератора в перенапряженный режим. А поскольку усилитель модулированных колебаний дол­жен работать в недонапряженном режиме, то его энергетические показатели и параметры качества практически такие же, как и при модуляции изменением напряжения смещения. Поэтому такой режим называют модуляцией на управляющую сетку изменением амплитуды напряжения возбуждения.

При выборе угла отсечки анодного тока θ < 90° статическая модуляционная характеристика Ia1=f(UC) начинается правее на­чала координат. В таком режиме возможно углубление модуля­ции: mвых > mвх (рис. 9). С уменьшением θ углубление возрас­тает, однако при этом возрастают нелинейные искажения.

Усиление модулированных колебаний в режиме с углом отсеч­ки θ = 90° широко применяют в однополосных передатчиках. Прин­ципиальная схема усилителя амплитудно-модулированных колеба­ний (УМК) приведена на рис. 9. Поскольку на вход УМК по­даются радиочастотные колебания с изменяющейся амплитудой, схемы УМК не отличаются от схем обычных генераторов с внеш­ним возбуждением.

Усилители модулированных колебаний целесообразно исполь­зовать в мощных многокаскадных передатчиках, в которых приме­нять сеточную модуляцию в мощном выходном каскаде неэконо­мично. В таких передатчиках можно, осуществив неглубокую мо­дуляцию в одном из маломощных промежуточных каскадов, путем углубления в последующих усилителях модулированных колебании довести ее до нормальной.


Overview

Data
Graph1
Graph2

Sheet 1: Data

0 1 2 3 4 5 6 7 8
m 0 0.2 0.44 0.6 0.82 0.9 1 1 1










50 1000 2000 4000 10000 15000 17000 19000 20000
m 0.3 0.7 0.75 0.73 0.35 0.2 0.14 0.13 0.09

Sheet 2: Graph1


Sheet 3: Graph2



Лабораторная работа № 4

ИССЛЕДОВАНИЕ работы модуляторов


Скрипка А.В. ИСТ-001ДУ


Цель работы


1. Научиться исследовать и анализиро­вать работу амплитудного, амплитудно-импульсного и частотного модуляторов.

2. Получить опыт моделирования АМ-модуляторов. Оценить влияние дестабилизирующих факторов на работу модуляторов.

3. Получить опыт моделирования АИМ-модуляторов. Оценить влияние дестабилизирующих факторов на работу модуляторов.

4. Получить опыт моделирования ЧМ-модуляторов. Оценить влияние дестабилизирующих факторов на работу модуляторов.

4. Приобрести опыт работы с автоматизированной системой конструирования на базе интерактивной программы Electronics Workbench для схемотехнического моделирования аналоговых и цифровых радиоэлектронных устройств формирования и генерирования сигналов различного назначения.


Содержание работы


  1. Моделирование амплитудного модулятора.

  2. Моделирование амплитудно-импульсного модулятора.

  3. Моделирование частотного модулятора.

  4. Изучение физических процессов в схемах модуляторов.


Порядок выполнения работы


Одним из основных элементов устройств формирования и генерирования сигналов является мо­дулятор.

1. Наиболее простой вид модуляции – амплитудная модуляция. Модуляция по амплитуде, осуществляемая в амплитудном модуляторе, сводится к перемножению моду­лирующего сигнала Y(t) и несущего X(t) сигнала. После пере­мно-жения и тригонометрических преобразований получим результирующее колебание.



Рис. 1. Схема амплитудного модулятора


Изменение амплитуды радиочастот­ных колебаний математически можно выразить следующим обра­зом. Уравнение тока в антенне или в выходной цепи модулируе­мого каскада до модуляции имеет вид Х = IНЕСсоsωHt. Это колебание называется несущим. В процессе модуляции амплитуда тока IНЕС получает приращение ΔIНЕС, причем это приращение изменяется по закону изменения модулирующего сигнала Y=ΔIНЕС cos Ωt.


Рис. Амплитуда модуляции


Тогда выражение тока радиочастоты при модуляции принимает вид

Z = ( IНЕС + ΔIНЕС cos Ωt) соsωHt.


Выполняя дальнейшее преобразование выражения тока моду­лированных колебаний, получаем

Z = IНЕС ( 1 + ΔIНЕС / IНЕС cos Ωt) соsωHt = IНЕС ( 1 + m cos Ωt) соsωHt .

Отношение приращения амплитуды тока несущей частоты при модуляции ΔIНЕС к его значению до модуляции IНЕС обозначают буквой m и называют коэффициентом глубины модуляции или глу­биной модуляции.

Модель амплитудного модулятора содержит двухвходовой линейный суммирующий усилитель OU, источник постоянного напряжения Е, два источника переменного синусоидального напряжения G1, G2 (эффективное значение напряжения, частота , фаза), аналоговый умножитель Х. Осцилограммы амплитудно-модулированного и модулирующего сигналов отображены на экране осциллографа. Коэффициент глубины модуляции m определяется непосредственно по осциллограме

2. Кроме амплитудной модуляции с гармонической несущей, в системах управления и многоканальных устройствах связи широко используются разнообразные виды импульсной модуляции. Наиболее простой из них является амплитудно-импульсная (АИМ), которая чаще всего используется при реализации более сложных видов импульсной модуляции (время-импульсной, фазоимпульсной, частотно-импульсной и т.п.).

Р
ис.2. Схема амплитудно-импульсного модулятора



Рис. Амплитудно-импульсная модуляция


При амплитудно-импульсной модуляции в соответствии с изменением модулирующего сигнала изменяется амплитуда импульсов. Периодическая последовательность импульсов при этом выполняет роль несущего колебания. В амплитудно-импульсном модуляторе производится модуляция импульсов по закону изменения амплитуды модулирующего сигнала.

Рассматриваемая схема амплитудно-импульсного модулятора (рис. 3) содержит двухвходовой линейный суммирующий усилитель OU1 и двухвходовой линейный сумматор-выпрямитель OU2; в качестве несущей используется однополярная (положительной полярности) последовательность прямоугольных импульсов с параметрами, определяемыми на­стройками функционального генератора (рис. 3), источник постоянного напряжения Е, источник переменного синусоидального напряжения G (эффективное значение напряжения, частота , фаза). Осцилограмма амплитудно-импульсного сигнала отображена на экране осциллографа.

3.Другим распространенным типом модуляции является угловая модуляция. Такое название является общим для частотной и фазовой модуляции. Связь между ними форму­лируется следующим образом : изменение частоты во времени по закону ω(t) эквивалентно изменению полной фазы по закону интеграла от ω(t), а изменение пол­ной фазы по закону φ(t) эквивалентно изменению частоты по закону производной от φ(t). Это положение, являющееся основным в теории угловой модуляции, определя­ет связь между изменениями частоты и фазы и указывает на общность, существую­щую между двумя разновидностями угловой модуляции — модуляцией частоты (ЧМ) и модуляцией фазы (ФМ).


Рис. 3. Схема импульсного частотного детектора


Рис. Импульсно частотный характеристика




© 2009 РЕФЕРАТЫ
рефераты бесплатно