:


:

, , . () . 1940 . .. . 1958 . . . . I960 . . , .

, ( , , , , , ) ( , , ..).

, . : () ,

, ( .62). - , , .

. , , . , . , , . , , -/ 2 , .

1^ ( ) L, 1^ [ (,^ - b())-c ] , ( - . ),


L - ; r1 r2 - 1 2 ;  - ; 0 - , .


I.

, , . . - . , . , .

, . ..-.* . ..

(113)

. , . . , , . . , .. . .

. . , , Sb

Eb - B Sb; k- ; R - ; Q - , , Sb

(.63).

, :

V(x,) - , , ;

- , .

(112) (III).

[] =[ .] , Vmn, , , mn M , , .. . m n ( ) ( ). .64 . , , , . , , .

, , . , , , , Na3+, Cr3+, 3+, Pr3+ . , "" . , . (Al2O3), - YAG (Y3Al5O12), ..

, . , .. .

, , - , : - (.71).

, (..71,). 1 ( kT), 1>2, 1>3) . 2 1 . 3 . , .

, 1>3. 3 2, . , , . . 2. , , .. .

, ( .. 71,), 3-2 , , , . , kT. . , 4 , 3 , 3-2.

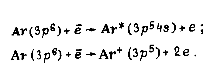
, . . .

.72, . , 1 , 2 3 , . r1 r2. , . , , . . n=15 99%.

, 95-96% , . . , . . . , . , , , , . 20-60%.

, . . .

, . , , .

. , . . , , . , , . . - , , .

. . , . , , , .

(.72, ), . .(. 72, , .) , . . .

(..72, ), . . . . . .72, , 2, 1. , .

. - . : ( ), , , l203, Al3+ 3- , , . r23 Al2O3 , 0,05 1,6*1019 I 3.

.73 . ,

. , .73, , , . 2->42. 2 . 3 . 2E 2 , 29 -1. 42 R1 R2 694,3 692,9 300.

4F2 , - , , . 4F1 (..73).

R1 -, . , , 2-4 , ^ Rn , . 2 . R1 - R2-, 2A 2 .

, , . . , . .

. , . , , , , ..

co . , , , .

2 30 . ~ I . ( ) . , , . . 50% . 30% , .. 15% , . 00% . .

"" . , .

.75 - () ().

, , , , .. , , , - (, , , ).

.


. . 00q . 00q = 0,63 /d ( d - ; - ). d = I , = 0,6943 = 410~4 , .. 1,5'. , , . , ( ). , .

. , , . 60 90. , , . 0- .


, , . : ( ), , .

, .


. , , , . 20 . . .

, . .


, , . , , , . , .

, , , ..

, . , , :

I. ( ), , .

, . -yupyl' * **:

.

2. . , - * - , - - , . , - :

, kT ( - ). , , (122), - .

3. - ,


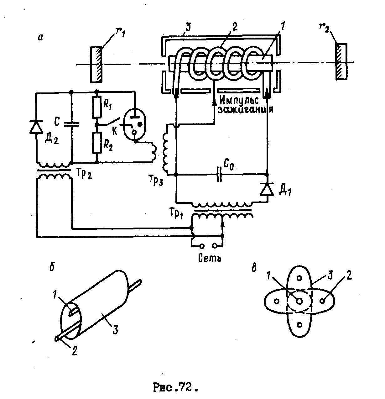
.80 . : , 3^ 3^ , , He-Ne .

( 1,5+2 1,&2 &8 ), , . , , , .

. ( ) , , (, ..). , .

^-10^ . . ), , , , .

, - (, 3s -2 , = 0,6328 % , 2Sn -2 = I, 152 - 12%). - , . - . . , . - . . .

, . , .80, - , ('?). - , - , , , .

, , () . .81 . , ,, 100 , . , - , , (123), , , . , . - . . , 3$^ -- 2/Dn /I = 0,6328 I : 5, 25^2^ -= 1,15 I : 10 100 .

. , , , . - . , 2 - Is , , . , , , is . is , 2 , . , I 7-8 . .

.82 -

^ Į I ( ).

- . , 2s- 35-, ,

(123). . -

2 Is,

(124), . (> 100 ) - is , 2 , .

20*80 . , ( ) 30 / 3Sn-- 2pq ( - = 0,6328 ), 50 / 25g -2 (, = = 1,152 ) 100 / ^ - ( / =3,394).

- . . - , . , , , , . , . 20 , =0,6328 2 . ?„ 10?. , 10% , .

, Afe , 20 . - 6+8 , , . - .

- . , . . - , -^ . / = 0,6328 2000 , ^ = 1,152 Ai)^ 1000 , = = 3,394 ?,, 400 . I ^ = 0,6328 10+12, .=1,]5 - 5-6 .

(. 5 .17), - .

. , - , . - , . .

. , . , .

, . .

. . 83 . .

fs^Ss^p-Ss-S^6.

4 -. iss,s.pGs'p5, . - ^ , - 4 - 13 .

''' ^4 /^. . :

^

, 3p^d ^ ( .83 ).

, . , ^ 25 , 3p^4s. ^ . ^ ^^ -* 4s ?^.

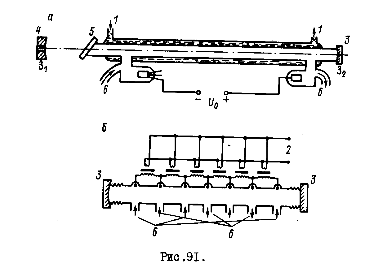
.84, . . - . , , . I ~. 3 , 1 . . . . 5 . ,


, . , . .

, . 6 , .

( ) . . , . . I5+20 10 . - . I 2 . . . 500 / . .

, , .

, 7 (, , , ), 8 ( , ) (.84, (). 3+10 . .

. .85 < . 2 3 . . : , , . , -, , . , ( , , ).

, . (.^| .84,) . ,.- , . . 10 /.

, . ' , , , ..

.86 10 . , , . - . , , , . , , , . . . , d jd = 100 / ( j - ) = 6,5ct ~^, d . d = 0,1+1,5 , ^ = 100+4 .

. . . ('>1000 /^) , . - . , -, . , , 3^48 . , , - , ^ 4 4s. 4 , 3^45. ^ -, - , , . 2,5 /.

(.87). , . ( 10+15 ). , , ( ).


10 + +15 500 .

, . , ( ), . , . , .

. _ , , . . , , , .

.88 4 , 28 , 30 . , ^/ . . hq „ . , (2*3)- 13 /. , , , , , .

, , 4 4S . .

, (450 ) (530 ) . 488 , ^pDocln ^s^Pw ^^ ^^ 514,5 . 488 514,5 45 ?% . . 0,5 10 600 / , = = 488 I3-IO"3 "1, A=5I4,5ii- 3,6-"3 "1.

488 514,5 496 476 , 6% . ^^---^-^. , 10 , -Ne 4-5 . , -, , , -Me, , -, ( ). 4 3p-4s (, ).


, - . - : , ti^O , , ^ .. COq . , , , 20 30%.

. . , ^ . COn - . : - (^ ), ( ^ ) (^) (.89). , , . , , Vn ^ >! ' ^2. "^ (^ ,^ , v^ ). t , . , -

. ^"1^,0^-2,..., , I Do, Uo-1,..., 1 ^ = /.^/(2), . = 0 , > 0 - . , > I ^ . .90 .

.. Ng , . , . v . .90 No. , Nn (001) . (001) ( =1) Nn 0,0023 .

^ (DO0!)-(^) (00I) (020). (001) (Ѱ0) 10,6 , 9,6 (001) -.(020).

(001) . N^ ^ , :

- Nn (v = I) ( 30% Nn). , , . { = I) No (00 I) No , , (00 I) ^ .

. , - . (00 ) . ( , Nn ) :

- .

(001) :

-() + (

. (10'0) 0^( ):

0^100) + ^()-- CO^OI 'O+COg^O). (125)

, (100) , (01^0). (100) (000) (01 0). (01 0) (000) . 0_ (01 0) - .

(01-0) (10 0) , , , , .

. , .

.91 . , - 70 -5-80 . , No- , , 40 , Nn-CO-He , 70* 80 . ^ ( 1 .91,). 1%

(..91, ), ( . 91.ff ). 80+100 , . 20 , .

(3), (^> - (.5) NuCL , KCL , Ge , SL , - 9+11 . . ( I ) . , ZnSe . " - ( ). 10 30%.

. , , () .

COg . .92 I 10 . , . . , , (00^1), ,- , ^ -- .

^ .

.93 Nn . , . N^ , (001), , (ް0). .

COp-Nn (.94)1 , , ^ Nn, , , , . ,



- , . , (00!) - COn-He . .

, , ..

, 1:1+5:3*8 I03 . I I . 200 150 . . I . 9 .*



饭 ⮤ 䨧᪮ ᯥਬ
. .. 祭 . ᯮ



© 2009