Реферат: Поляризационные приборы
Реферат: Поляризационные приборы
Московский
ордена Ленина,
ордена Октябрьской
Революции и
ордена Трудового
Красного Знамени
ГОСУДАРСТВЕННЫЙ
ТЕХНИЧЕСКИЙ
УНИВЕРСИТЕТ
имени Н.Э.Баумана.
________________________________________________
Факультет
РЛ
Кафедра
РЛ3
Реферат по
дисциплине
"Поляризационные
приборы"
студентки
Сальниковой
Любови Юрьевны
группа
РЛ 3-101.
Преподаватель
Зубарев
Вячеслав Евгеньевич
Введение
Поляризационные
приборы основаны
на явлении
поляризации
света и предназначены
для получения
поляризованного
света и изучения
тех или иных
процессов,
происходящих
в поляризованных
лучах.
Поляризационные
приборы широко
применяют в
кристаллографии
и петрографии
для исследования
свойств кристаллов;
в оптической
промышленности
для определения
напряжений
в стекле; в
машиностроении
и приборостроении
для изучения
методом фотоупругости
напряжений
в деталях машин
и сооружений;
в медицине; в
химической,
пищевой, фармацевтической
промышленности
для определения
концентрации
растворов.
Поляризационные
приборы получили
распространение
также для изучения
ряда явлений
в электрическом
и магнитном
поле.
Приборы
для определения
внутренних
натяжений
Т-образные
установки МИСИ
Т-образные
установки МИСИ
предназначаются
для изучения
деформации
методом оптически
чувствительных
покрытий.
В полярископах
Т-образного
вида (рис. 1) свет
от источника
1 проходит
поляризатор
2, отражается
от полупрозрачного
зеркала 3, проходит
оптически
чувствительное
покрытие 4 и,
отразившись
от поверхности
образца 5, входит
в анализаторную
часть установки.
Она содержит
анализатор
8, сменные компенсатор
6 и пластинку,
7 в 1/4 волны и экран
полярископа
9.
Рис. 1. Схема
Т-образного
полярископа
Если измерение
проводится
в точке по методу
компенсации,
то перед анализатором
устанавливают
компенсатор.
При фиксации
изохроматической
картины по полю
перед анализатором
устанавливают
пластинку в
1/4 волны.
В соответствии
со схемой,
представленной
на рис. 1, разработана
Т-образная
установка (рис.
2), получившая
наименование
отражательного
полярископа.

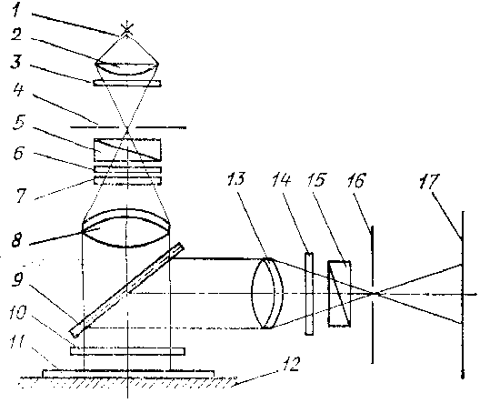
Рис. 2.
Отражательный
полярископ
МИСИ по Т-образной
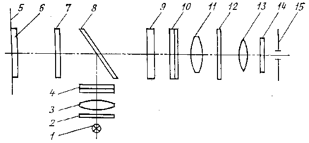
схеме.Источник
света 1 (лампа
ДРШ-250) с помощью
конденсора
2 проецируется
на диафрагму
4 (диаметр отверстия
2 мм), помещенную
в фокусе объектива
8.
Для снижения
влияния инфракрасной
радиации источника
в схему введен
теплофильтр
3. Расходящийся
плоскополяризованный
световой поток
после диафрагмы
4 проходит
поляризатор
5, пластинку 6
в 1/4 волны, светофильтр
7 и попадает на
объектив 8 (фокусное
расстояние
300 мм). После объектива
свет параллельным
пучком проходит
две полупрозрачные
пластины 9 и
10, оптически
чувствительное
покрытие 11 и
попадает на
образец 12. После
отражения в
обратном ходе
свет попадает
в анализаторную
часть установки,
где объективом
13 фокусируется
на диафрагму
16. Поляризационная
картина после
дополнительного
светофильтра
14 и анализатора
15 рассматривается
на экране полярископа
l7.
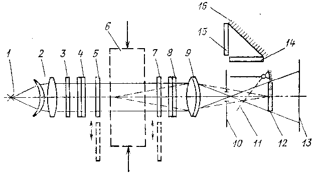
Рис. 3. Схема
V-образного
полярископа
К установкам
данного типа
относятся также
отражательный
полярископ
OП-2, переносный
малогабаритный
полярископ
ОП-3 и др.
V-образные
полярископы
V-образные
полярископы
используются
для тех же целей,
что и Т-образные.
В полярископах
V-образного
вида (рис. 3) естественный
монохроматический
свет от источника
1 проходит
поляризатор
2, становясь
при этом
плоскополяризованным.
Проходя пластинку
3 в 1/4 волны и оптически
чувствительное
покрытие 4, свет
отражается
от объекта
исследования
5 (от пластически
деформируемого
образца), проходит
вторую пластинку
6 в 1/4 волны, анализатор
7 и образует
изохроматическую
картину на
экране полярископа
8.
Для получения
картины хорошего
качества варьируется
толщина покрытия
4 (в пределах
0,5 — 1,5 мм и угол a
между оптическими
осями поляризаторной
и анализаторной
части (в пределах
6°ё15°)
Рис. 4. Схема
кругового
поляриметра
СМ
Освещение
объекта может
осуществляться
как параллельным,
так и расходящимся
пучком поляризованного
света.
Приборы
для определения
угла поворота
плоскости
поляризации
Круговой
поляриметр
СМ
Круговой
поляриметр
СМ (рис. 4) предназначен
для определения
угла поворота
плоскости
поляризации
в жидких оптически
активных веществах.
Осветитель
1 (лампа накаливания
или натриевая
лампа ДНаО140)
устанавливается
в фокальной
плоскости
оптической
системы 8. В
конструкции
узла осветителя
предусмотрены
подвижки для
установки нити
накала лампы
на оптической
оси. При работе
с лампой накаливания
перед оптической
системой 3 вводится
желтый светофильтр
2. Параллельный
монохроматический
пучок лучей,
выходящий из
системы 3, проходит
через поляризатор
4 (поляроид,
заклеенный
между двумя
стеклами), кварцевую
пластинку 5,
создающую
совместно с
поляроидом
полутеневую
картину с тройным
полем зрения,
и кварцевую
кювету 6 с исследуемым
раствором.
Обычно длина
кюветы выбирается
такой, чтобы
концентрации
10-3
кг/см3
соответствовал
угол поворота
плоскости
поляризации
y
= 1°.
После
кюветы расположен
анализатор
7, аналогичный
поляризатору
4, и телескопическая
система, состоящая
из объектива
10 и окуляра 11,
через который
ведется наблюдение
при уравнивании
освещенностей
частей поля
зрения.
Отсчет
осуществляется
по градусной
шкале 8 неподвижного
лимба (с оцифровкой
от 0°
до 360°)
с помощью двух
диаметрально
противоположных
нониусов 9 (шкалы
нониусов имеют
по 20 делений;
цена одного
деления 0,05°).
Из показаний
двух нониусов
берут среднее
значение (для
учета эксцентриситета
лимба). Отсчет
снимается при
наблюдении
лимба и нониуса
через лупы 12.
Автоматический
спектрополяриметр

Рис. 5. Схема
автоматического
спектрополяриметраАвтоматический
спектрополяриметр
(рис. 5) предназначен
для измерения
угла поворота
плоскости
поляризации
в диапазоне
длин волн 0,24ё0,60
мкм.
Источник
света 1 сменный
— лампа накаливания
при работе в
видимой части
спектра и ртутная
лампа сверхвысокого
давления для
измерения в
ультрафиолетовой
области. Излучение
от лампы 1 проходит
через двойной
монохроматор
2 (с зеркальной
оптикой и кварцевыми
призмами), попадает
на электромеханический
поляризатор-модулятор
4, проходит
исследуемый
образец 5, анализатор
6 и попадает на
фотоумножитель
7.
В зависимости
от угла между
направлениями
колебаний,
пропускаемых
поляризатором
и анализатором,
меняется частота
переменной
составляющей
потока, попадающего
на фотоумножитель.
Сигнал,
преобразованный
в электрический
и усиленный
в усилителе
8, питает управляющую
обмотку реверсного
двигателя,
который через
редуктор вращает
анализатор
6 до тех пор, пока
из сигнала не
исчезнет первая
гармоника.
Вращение анализатора
регистрируется
на самописец
3, связанном
передающим
устройством
со шкалой длин
волн монохроматора.
С помощью
описанного
прибора измеряется
вращательная
дисперсия
образцов с
поглощением
до 80%. Предел
измеряемых
углов вращения
±2°.
Список
использованной
литературы
Лабораторные
оптические
приборы: Учебное
пособие для
приборостроительных
и машиностроительных
ВУЗов. Г. И. Федотов,
Р. С. Ильин, Л. А.
Новицкий, В.
Е. Зубарев, А.
С. Гоменюк.
Оглавление
Введение 3
Приборы
для определения
внутренних
натяжений 3
Т-образные
установки
МИСИ 3
V-образные
полярископы 6
Приборы
для определения
угла поворота
плоскости
поляризации 8
Круговой
поляриметр
СМ 8
Автоматический
спектрополяриметр 9
Список
использованной
литературы 11
Оглавление 11
Московский
ордена Ленина,
ордена Октябрьской
Революции и
ордена Трудового
Красного Знамени
ГОСУДАРСТВЕННЫЙ
ТЕХНИЧЕСКИЙ
УНИВЕРСИТЕТ
имени Н.Э.Баумана.
________________________________________________
Факультет
РЛ
Кафедра
РЛ3
Реферат по
дисциплине
"Поляризационные
приборы"
студента
Майорова
Павла Леонидовича
группа
РЛ 3-101.
Преподаватель
Зубарев
Вячеслав Евгеньевич
Введение
Поляризационные
приборы основаны
на явлении
поляризации
света и предназначены
для получения
поляризованного
света и изучения
тех или иных
процессов,
происходящих
в поляризованных
лучах.
Поляризационные
приборы широко
применяют в
кристаллографии
и петрографии
для исследования
свойств кристаллов;
в оптической
промышленности
для определения
напряжений
в стекле; в
машиностроении
и приборостроении
для изучения
методом фотоупругости
напряжений
в деталях машин
и сооружений;
в медицине; в
химической,
пищевой, фармацевтической
промышленности
для определения
концентрации
растворов.
Поляризационные
приборы получили
распространение
также для изучения
ряда явлений
в электрическом
и магнитном
поле.
Приборы
для определения
внутренних
натяжений
Большая
поляризационная
установка
Большая
поляризационная
установка (рис.
1) предназначена
для исследования
напряжений
в прозрачных
моделях деталей
машин и сооружений.
Источник
света 1 (кинопроекционная
лампа К12 или
ртутная лампа
СВДШ-250) размещен
в фокальной
плоскости
конденсора
2 (фокусное
расстояние
180 мм). Параллельный
пучок лучей
после конденсора
проходит через
светофильтр
3, поляризатор
4 (поляроид,
вклеенный между
защитными
стеклами), слюдяную
пластинку 5 в
1/4 волны и падает
на исследуемый
образец 6.
Рис. 1. Схема
большой поляризационной
установки
После образца
образовавшиеся
в нем лучи o
и e проходят
вторую пластинку
7 в 1/4 волны, анализатор
8 (аналогичный
поляризатору
7) и падают на
объектив 9 (фокусное
расстояние
400 мм), который
изображает
источник света
в плоскости
апертурной
диафрагмы 10
(ирисовая диафрагма
фотозатвора;
раскрытие
диафрагмы от
2 до 4 мм при ртутной
лампе, раскрытие
диафрагмы
полное до 20 мм
для кинопроекционной
лампы). Одновременно
объектив 9 проецирует
изображение
образца на
матовое стекло
15 при помощи
откидного
зеркала 11 или
на фотопластинку
12.
Интерференционную
картину наблюдают
через защитное
стекло 14 и зеркало
16. Ее можно также
проецировать
с большим увеличением
на экране 13.
Поляризатор,
анализатор
и пластинки
в 1/4 волны вращаются
в пределах
0ё90°;
угол поворота
отсчитывается
по шкале с ценой
деления 1°.
Пластинки в
1/4 волны можно
выводить из
оптической
схемы.
Конструктивно
прибор выполнен
в виде отдельных
узлов: осветитель,
в котором
смонтированы
детали 1—5; нагрузочное
устройство,
включающее
образец 6; фотокамера,
содержащая
затвор с диафрагмой
10 и оптические
детали 7—9 и 11—16,
рассчитанная
на фотопластинки
размером 13ґ18
м.
Значительное
усовершенствование
процесса
поляризационных
измерений и
повышение
точности достигается
при использовании
объективных
методов измерения.
В качестве
примеров приборов
такого типа
рассмотрим
схему фотоэлектрического
поляриметра.
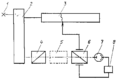
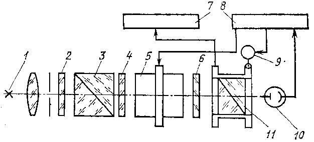
Фотоэлектрический
модуляционный
поляриметр
Фотоэлектрический
модуляционный
поляриметр
(рис. 2) позволяет
измерять в
исследуемом
объекте разность
фаз лучей о
и е,
меняющуюся
во времени.
Лучистый
поток от ртутной
лампы 1 сверхвысокого
давления проходит
через иитерференционный
светофильтр
2 (с максимумом
пропускания
при l=0,436
мкм и l=0,546
мкм), поляризатор
3 и исследуемый
объект 4, ориентированный
так, что направления
колебаний в
лучах о
и е
составляют
углы p/4
с направлением
колебаний в
луче, вышедшем
из поляризатора.
Выходящий из
объекта 4 эллиптически
поляризованный
свет попадает
на пластину
5, изготовленную
из кристалла
ADP,
вырезанную
так, что ее плоскости
перпендикулярны
оптической
оси.
Рис. 2. Схема
фотоэлектрического
модуляционного
поляриметра
Введение
пластины 5 позволяет
модулировать
проходящий
через нее лучистый
поток, так как
на кристалле
ADP очень удобно
реализовать
эффект Поккельса.
При приложении
к пластине 5
переменного
электрического
напряжения
в направлении,
параллельном
оси лучистого
потока и оптической
оси кристалла,
последний
становится
двухосным.
Новые оптические
оси образуют
симметричные
углы p/4
с прежним
направлением
оси. Следовательно,
после приложения
напряжения
к пластине 5
проходящий
через нее свет
претерпевает
двойное лучепреломление.
Возникающая
при этом разность
фаз пропорциональна
напряжению
электрического
поля и не зависит
от толщины
пластины 5. В
связи с возникающей
переменной
разностью фаз
эллиптически
поляризованный
свет периодически
меняет форму
эллипса. Следовательно,
на выходе
компенсатора
6 (в схеме используется
компенсатор
Сенармона)
плоскость
линейно поляризованного
света колеблется
относительно
среднего положения.
После анализатора
11 модулированный
поток света
попадает на
фотоумножитель
l0. Из фотоумножителя
ток с основной
частотой,
соответствующей
первой гармонике
сигнала, поступает
в усилитель
8 и приводит в
действие сервомотор
9, поворачивающий
анализатор
1l до тех пор, пока
в сигнале имеется
первая гармоника.
Остановка
соответствует
положению
анализатора,
при котором
на фотоумножитель
падает минимальный
поток излучения.
Самописец
7 фиксирует
углы поворота
анализатора,
причем измеряемая
разность фаз
равна удвоенному
углу поворота
анализатора.
Погрешность
измерения
составляет
в среднем
приблизительно
20'.0
Полярископ-поляриметр
ПКС-56
Полярископ-поляриметр
ПКС-56 (рис. 3) служит
для измерения
двойного
лучепреломления
в стекле. Он
состоит из
источника света
1 (лампа накаливания),
матового стекла
2, поляризатора
3 (поляроид,
вклеенный между
стеклами), пластинки
5 в 1/4 волны, анализатора
6 (аналогичного
поляризатору
3) и светофильтра
7 (на длину волны
0,54 мкм).

Рис. 3. Схема
полярископа-поляриметра
ПКС-56Порядок
измерения на
приборе следующий:
скрещивают
поляризатор
и анализатор
(отсчет по лимбу
анализатора
0°,
поле зрения
темное); устанавливают
образец 4 (если
он обладает
двойным лучепреломлением,
то в поле зрения
наблюдается
просветление);
поворачивают
анализатор
до максимального
потемнения
в середине
образца; по
лимбу отсчитывают
угол поворота
Db
анализатора.
Зная Db,
можно определить
из соотношения

где l
— толщина образца
в направлении
просмотра.
При l=10
мм погрешность
измерения
составляет
±3Ч10-7.
С увеличением
l
погрешность
уменьшается.
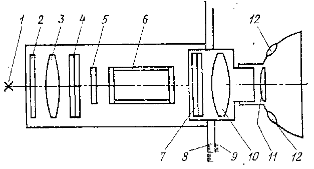
Переносный
малогабаритный
поляриметр ИГ-86
Рис. 4.
Переносный
малогабаритный
поляриметр
ИГ-86
Переносный
малогабаритный
поляриметр
ИГ-86 (рис. 4) предназначен
для визуального
исследования
напряженного
состояния
изделий с помощью
оптически
чувствительных
покрытий. Он
позволяет
наблюдать
интерференционную
картину в условиях
плоской и круговой
поляризации
и измерять
оптическую
разность хода
как методом
сопоставления
цветов, так и
компенсационным
методом.
Источник
света 1 (лампа
СЦ-61) размещен
в фокусе объектива
3. Защитные стекла
2, 7 и 12 предохраняют
прибор от попадания
в него загрязнений.
Параллельный
пучок лучей
проходит
поляризационный
светофильтр
(поляризатор
4), полупрозрачное
зеркало 8 и,
отразившись
от светоделительного
слоя, падает
на оптически
чувствительное
покрытие 6,
нанесенное
на исследуемый
объект 5. После
отражения от
покрытия свет
попадает в
анализаторный
узел прибора,
проходит компенсатор
9, анализатор
10 (аналогичный
поляризатору
4) и попадает в
зрительную
трубу (сменное
увеличение
2 и 10ґ)
со шкалой в
совмещенной
фокальной
плоскости
объектива 11 и
окуляра 13. Перед
глазной линзой
окуляра и выходным
зрачком 15 устанавливается
светофильтр
14. Такая оптическая
схема получила
наименование
Т-образной
схемы.
Предел
измерения
оптической
разности хода
— от 0 до 5 интерференционных
порядков. Погрешность
измерения —
0,05 интерференционных
порядков.
Габариты
прибора 400ґ400ґ800
мм; масса около
2 кг.
Список
использованной
литературы
Лабораторные
оптические
приборы: Учебное
пособие для
приборостроительных
и машиностроительных
ВУЗов. Г. И. Федотов,
Р. С. Ильин, Л. А.
Новицкий, В.
Е. Зубарев, А.
С. Гоменюк.
Оглавление
Введение 3
Приборы
для определения
внутренних
натяжений 3
Большая
поляризационная
установка 3
Фотоэлектрический
модуляционный
поляриметр 5
Полярископ-поляриметр
ПКС-56 8
Переносный
малогабаритный
поляриметр ИГ-86 9
Список
использованной
литературы 11
Оглавление 11
Кристалл ADP —
искусственный
одноосный
кристалл
дигидрофосфата
аммония (NH4H2PO4).
|