Реферат: Устройства СВЧ
Реферат: Устройства СВЧ
инистерство образования Российской
Федерации
Уральский Государственный
Технический Университет - УПИ
Кафедра "ВЧСРТ"
Реферат
по курсу
«Техническая электродинамика»
Преподаватель: Князев С.Т.
Студент: Черепанов К.А.
Группа: Р-307
Екатеринбург
2002
Содержание
1 Согласованные нагрузки для линий передачи.................................................................... 2
2 РЕАКТИВНЫЕ ЭЛЕМЕНТЫ................................................................................................................................. 4
2.1 Поршни................................................................................................................................................................... 4
2.2 Диафрагмы........................................................................................................................................................... 5
2.3 Штыри..................................................................................................................................................................... 7
3 РАЗЪЕМЫ И СОЧЛЕНЕНИЯ В ТРАКТАХ СВЧ............................................................................................ 8
3.1 Соединители волноводных трактов........................................................................................................ 8
4 ПОВОРОТЫ ЛИНИЙ ПЕРЕДАЧИ.................................................................................................................... 10
5 ПЕРЕХОДЫ МЕЖДУ ЛИНИЯМИ ПЕРЕДАЧИ РАЗЛИЧНЫХ ТИПОВ............................................ 11
Библиографический список................................................................................................................ 16
1
Согласованные нагрузки для
линий передачи
Одним из наиболее
распространенных элементов трактов являются согласованные нагрузки, предназначенные
для поглощения передаваемой по линии СВЧ - мощности. Согласованные нагрузки
применяют также в качестве эквивалентов антенн при настройке передающей
аппаратуры и в виде меры сопротивления в измерительных СВЧ - устройствах
(например, в установках для измерения матриц рассеяния многополюсников).
Основной электрической
характеристикой согласованной нагрузки является величина модуля ее
коэффициента отражения (или
соответствующие величины КБВ или КСВ) в заданной полосе частот. На практике возможно создание нагрузок с
| |£0,01 в относительной полосе частот Df c/fo=20-30
% и более. Ввиду малости | |
требования к фазе коэффициента отражения от нагрузки не предъявляются, и эта
фаза может иметь любую величину в интервале от 0 до 2 p.
Важной характеристикой нагрузки
является величина допустимой поглощаемой мощности. Существуют нагрузки для
низкого уровня мощности (£1 Вт) и
нагрузки, предназначенные для высокого уровня мощности.
Конструктивное выполнение
нагрузок зависит от типа линии передачи, диапазона частот и уровня мощности.
Различают сосредоточенные и распределенные нагрузки, причем последние путем
увеличения размеров и массы могут быть выполнены на большую мощность.
В
коаксиальном тракте простейшей нагрузкой является сосредоточенный резистор с
сопротивлением, равным волновому сопротивлению линии передачи. Однако на
сантиметровых волнах размеры резистора соизмеримы с длиной волны, входное
сопротивление становится частотно-зависимым и качество согласования заметно
ухудшается. Для снижения коэффициента отражения и расширения рабочей полосы
частот коаксиальные нагрузки сантиметрового диапазона волн часто выполняют в
виде отрезков нерегулярной линии передачи с потерями. Поглощающие элементы в
таких нагрузках могут быть объемными или в виде тонких поглощающих пленок.
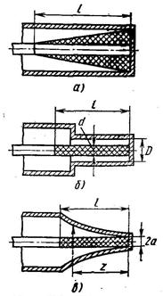
Коаксиальная нагрузка с объемным поглощающим элементом в виде конуса показана
на рис.1, а. Хорошее качество согласования в этой конструкции
достигается при длине поглощающего элемента 1³l.
Более
распространены коаксиальные нагрузки с поглощающими элементами в виде
керамических цилиндров, покрытых металлооксидными или углеродистыми проводящими
пленками. Толщину пленки выбирают малой по сравнению с глубиной погружения
тока, поэтому поверхностное сопротивление пленки почти не зависит от частоты.
Чтобы входные сопротивления коаксиальных нагрузок с цилиндрическими поглощающими
элементами были чисто активными и почти не менялись в значительном интервале
частот, такие нагрузки снабжают нерегулярными металлическими экранами со
специально подобранными профилями и размерами.
На
рис.1, б показана коаксиальная нагрузка с экраном ступенчатой формы. Найдено,
что оптимальное качество согласования при l³.61получается
при выборе уменьшенного диаметра экрана в соответствии с соотношением: ,
где ZB — волновое
сопротивление основного коаксиального волновода. Длина уступа внешнего
проводника должна быть несколько меньше длины пленочного поглощающего
элемента.
Наиболее
широкополосные коаксиальные нагрузки имеют внешний экран воронкообразной формы
(рис.1, в). Например, при выборе формы экрана в соответствии с уравнением r(г)=аеАг
(где а — диаметр внутреннего проводника
коаксиального волновода; А — константа) нагрузка оказывается
работоспособной при А>l. Существуют и более широкополосные коаксиальные нагрузки,
экран которых имеет профиль в виде специальной кривой — трактрисы.
Согласованные
нагрузки для полосковых линий передачи представляют собой тонкопленочные полоски
из резистивных материалов, нанесенные на полосковую плату и закороченные с
одного конца на экран полосковой линии. Толщину полоски подбирают в несколько
раз меньше глубины проникновения тока, а длина полоски может быть малой по
сравнению с длиной волны. Однако из-за небольшой площади теплоотвода такие
сосредоточенные нагрузки выдерживают лишь небольшую мощность. Для увеличения
рассеиваемой мощности нагрузки выполняют в виде протяженных (l~l)
отрезков регулярных или нерегулярных линий передаче с потерями.

Рис. 1 Коаксиальные согласованные нагрузки
При этом необходим специальный
подбор формы поглощающей поверхности. В полосковых узлах СВЧ применяют
также навесные нагрузки в виде керамических пластинок или стержней с
нанесенным пленочным поглощающим покрытием. На полосковых платах при выполнении
нагрузок и в других случаях части возникают трудности с осуществлением
короткого замыкания полосковых проводников на экраны полосковых линий. При
узкой полосе частот Df c/fo=5-8%
эти трудности преодолевают применением четвертьволновых разомкнутых шлейфов,
обладающих близким к нулю входным сопротивлением.
Волноводные согласованные
нагрузки выполняют в виде поглощающих вставок переменного профиля в
отрезке короткозамкнутого волновода. В маломощных нагрузках вставки имеют вид
тонких диэлектрических пластин, покрытых графитовыми или металлическими
пленками (рис.2, а). Объемные поглощающие вставки (рис.2, б, в, г) с
большой мощностью рассеивания выполняют из композитных материалов на основе
порошков графита, карбонильного железа или карбида кремния.

Рис. 2 Волноводные
согласованные нагрузки
Для уменьшения отражений
поглощающим вставкам придают вид клиньев или пирамид. Наименьшие отражения в
широкой полосе частот обеспечиваются от вставок, входная часть которых имеет
форму экспоненциального клина в плоскости вектора Е. Для
устранения отражения от короткозамыкателя вставка должна вносить ослабление
20—25 дБ. Для улучшения теплоотвода площадь соприкосновения вставки со
стенками волновода делают максимальной, а внешнюю поверхность волновода
снабжают радиатором.
2 РЕАКТИВНЫЕ
ЭЛЕМЕНТЫ
Реактивные нагрузки, применяемые
в качестве мер при измерениях на СВЧ, а также в согласующих и управляющих
устройствах СВЧ, должны обладать стабильным нормированным входным
сопротивлением, величина которого может быть строго рассчитана по
геометрическим размерам. В качестве реактивных двухполюсников обычно
используют короткозамкнутые отрезки закрытых линий передачи, иначе говоря
короткозамкнутые шлейфы. Реактивное сопротивление короткозамкнутого шлейфа
определяют по формуле , где ZВ — нормированное волновое сопротивление; b - коэффициент фазы, l
- длина шлейфа. Основным параметром, характеризующим
качество реального шлейфа, является величина входного КСВ, которая
должна быть как можно более высокой. В
нерегулируемых коаксиальных или волноводных шлейфах с неподвижным запаянным поршнем КСВ может достигать.
500 и более. В регулируемых шлейфах с подвижными поршнями значения КСВ
из-за дополнительных потерь в контактах
получаются ниже, однако, как
правило, превышают 100. Холостой ход в
шлейфах, т.е. размыкание выхода,
может быть реализован только в
закрытых многопроводных линиях
передачи, когда устранено излучение.
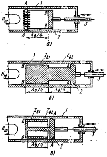
Возможные
конструктивные решения подвижных
короткозамыкающих поршней для прямоугольных волноводов показаны
на рис. 3 для продольных сечений, параллельных узкой
стенке волновода. В первой конструкции
(рис. 3, а) разрезные пружинные
контакты А вынесены от закорачивающей стенки В внутрь волновода на расстояние lв/4. Поэтому контакты оказываются в сечении волновода с нулевыми
значениями продольного тока на стенках волновода, и неидеальность контактов не приводит к потерям мощности.

Рис. 3
Волноводные короткозамыкающие поршни:
1 — волновод; 2 — поршень; 3
— тяга
Во второй конструкции поршня (рис.
3,б) механические контакты А включены
в волновод через два трансформирующих отрезка линии передачи с низкими значениями нормированного волнового
сопротивления ZВ1 и ZВ2.
Предполагая, что активное сопротивление
контактов в точке А равно rа,
и применяя дважды формулу пересчета сопротивления через
четвертьволновый трансформатор,
находим входное сопротивление в точках В: rB= =rA(ZВ1/ZВ2)2.
При выборе ZВ1<<ZВ2 удается
существенно уменьшить эквивалентное сопротивление контакта rA и увеличить КСВ поршня.
В
третьей конструкции поршня (рис. 3, в) точки механического контакта помещены в середину свернутого
короткозамкнутого полуволнового
отрезка линии передачи, состоящего из двух каскадно включенных четвертьволновых отрезков с волновыми сопротивлениями ZВ1
и ZВ2.
К активному сопротивлению контакта
rA добавляется бесконечное реактивное
сопротивление короткозамкнутого
четвертьволнового шлейфа с волновым сопротивлением ZВ2, и сумма сопротивлений контакта и шлейфа
трансформируется четвертьволновым
отрезком с волновым сопротивлением ZВ1 в практически нулевое сопротивление в
точке В (т. е. в точке В создается
виртуальное короткое замыкание для токов СВЧ).
Рассмотренные
принципы выполнения волноводных поршня непосредственно применимы и в
коаксиальных поршнях для диапазона
коротких сантиметровых волн. На дециметровых и более длинных волнах
применяются коаксиальные поршни с обычными пружинными
контактами в точках короткого замыкания линии передачи, так как четвертьволновые трансформирующие отрезки оказываются слишком громоздкими.
Диафрагмами называют
тонкие металлические перегородки,
частично перекрывающие поперечное сечение
волновода. В прямоугольном волноводе наиболее употребительны
симметричная индуктивная, симметричная емкостная и резонансная диафрагмы, показанные на рис. 4.

Рис. 4
Диафрагмы в прямоугольном волноводе
В индуктивной диафрагме (рис.
4,а) поперечные токи на широких стенках волновода частично замыкаются
через пластины, соединяющие эти стенки. В
магнитном поле токов, текущих по пластинкам диафрагмы, запасается магнитная энергия. Схема замещения индуктивной диафрагмы представляет собой
индуктивность, включенную
параллельно в линию передачи. Нормированную реактивную проводимость
индуктивной диафрагмы bL определяют по
приближенной формуле
(2.2.1)
где —
длина волны в волноводе; а – размер широкой стенки волновода; dL — ширина
зазора диафрагмы.
Емкостная диафрагма (рис.
4, б) уменьшает зазор между широкими стенками волновода, между кромками
диафрагмы концентрируется поле Е и
создается некоторый запас электрической энергия. Поэтому схемой замещения
емкостной диафрагмы является емкость, включенная
параллельно в линию передачи. Нормированная реактивная проводимость емкостной
диафрагмы bс определяется
по приближенной формуле
(2.2.2.)
где b
— размер узкой стенки волновода; dc —
ширина зазора диафрагмы. Емкостная диафрагма сильно снижает электрическую
прочность волновода.
Резонансная диафрагма (резонансное
окно) - металлическая пластинка с отверстием прямоугольной или овальной формы (рис. 4, в), содержащая в себе элементы индуктивной
и емкостной диафрагм. Размеры
отверстия резонансной диафрагмы могут быть
выбраны так, чтобы на заданной резонансной частоте диафрагма не оказывала влияния на распространение
волны H10
в волноводе, т. е. имела нулевую проводимость. Схема замещения резонансной диафрагмы имеет вид параллельного
резонансного контура, включенного в
линию передачи параллельно. Приближенно
резонансную частоту резонансной диафрагмы определяют из условия равенства волновых сопротивлений линии
передачи, эквивалентной волноводу, и отверстия диафрагмы на основании формулы (2.2.3):
(2.2.3)
(2.2.4)
Можно убедиться, что выбранной
резонансной длине волны l0 в
формуле (2.2.4) соответствует множество диафрагм с отверстиями различных
размеров, начиная с узкой щели длиной l0/2
и кончая полным поперечным сечением волновода. Эти резонансные диафрагмы
обладают разной внешней добротностью, т. е. добротностью эквивалентного
колебательного LC-контура с
учетом влияния согласованной с двух концов линии передачи, в которую
включен этот контур.
Индуктивный штырь,
показанный вместе со схемой замещения на рис.5, а, представляет собой
проводник круглого сечения, установленный в
поперечном сечении прямоугольного волновода по направлению силовых линий поля Е, и соединенный с двух концов с широкими стенками волновода.

Рис. 5
Индуктивный штырь в прямоугольном волноводе
Схема замещения индуктивного
штыря содержит параллельно включенную
индуктивность и два последовательных емкостных сопротивления, учитывающих
конечную толщину штыря. Номиналы элементов определяются по формулам и графикам, имеющимся в справочной литературе. Индуктивные штыри не
снижают электрической прочности
волновода и просты в изготовлении. Когда необходимы низкие значения
параллельного сопротивления ха,
применяют решетки из нескольких индуктивных штырей, располагаемых в поперечном сечении волновода, как показано на
рис. 5, б.
Емкостный штырь (рис.
6) представляет собой круглый
проводник, установленный по направлению силовых линий поля Е и
соединенный одним концом с широкой стенкой волновода. Схема замещения емкостного штыря содержит
последовательный LC-контур, включенный параллельно в линию передачи.
Емкость этого контура связана с
концентрацией поля E в области разомкнутого конца штыря, а индуктивность обусловлена прохождением
токов по штырю. При некоторой длине штыря, близкой к l0/4, проводимость
последовательного контура обращается в бесконечность, и волновод закорачивается.

Рис. 6
Емкостной штырь в прямоугольном волноводе
Более
короткие штыри имеют емкостную
проводимость: при длинах штыря, больших
резонансной, проводимость носит индуктивный характер. Последовательные
емкостные сопротивления в схеме замещения
учитывают конечность толщины штыря.
При малых диаметрах штыря эти сопротивления малы, и их влиянием можно
пренебречь. Емкостные штыри в основном
применяют в качестве регулируемых реактивных
элементов, вводимых внутрь волновода с помощью резьбовых отверстий на широкой стенке. Однако
емкостные штыри заметно снижают
электропрочность волноводов, и поэтому в мощных трактах они не находят
применения.
3
РАЗЪЕМЫ И СОЧЛЕНЕНИЯ В ТРАКТАХ СВЧ
Для осуществления сборки и разборки
трактов отдельные узлы и устройства СВЧ оснащают специальными разъемами,
которые должны обеспечивать надежный электрический контакт в местах соединения
проводников между собой. Основные требования к разъемам состоят в сохранении согласования и электрической прочности
тракта при минимальном ослаблении мощности и отсутствии: паразитного излучения.
В высококачественных соединителях
для гибких коаксиальных кабелей контакты обеспечивают с помощью пружинных цанг
и штекеров (рис. 7, а), удерживаемых в соединении посредством внешних
резьбовых соединений или иных фиксирующих приспособлений. Соотношение
диаметров проводников на любом участке внутри коаксиальных высокочастотных
соединителей подбирают таким образом, чтобы с учетом параметров диэлектрика
обеспечивалось постоянство волнового сопротивления линии. Согласование в
высокочастотных коаксиальных соединителях в сильной степени зависит от заделки
кабеля и при аккуратном выполнении характеризуется среднеквадратическим
значением КСВ порядка 1,05—1,15.
Высокочастотное соединители для
жестких коаксиальных, волноводов на повышенный уровень мощности выполняют без
опорных диэлектрических шайб. Эскиз возможной
конструкции коаксиального соединителя для жесткой коаксиальной линии
показан на рис. 7, б. Во многих случаях высокочастотные соединители для
жестких коаксиальных волноводов должны быть герметичными как для защиты внутренних рабочих поверхностей проводника от
внешних воздействий, так и для повышения электрической прочности тракта путем
создания внутри тракта избыточного давления.
Соединение отрезков прямоугольных
волноводов осуществляют с помощью фланцев двух типов: контактных и
дроссельных.
Контактные притертые фланцы требуют
тщательной обработки и строгой параллельности соприкасающихся
поверхностей и могут обеспечивать высокое
качество сочленения, которое, однако, быстро
ухудшается при многократных
пересборках тракта.

Рис. 7 Высокочастотные коаксиальные соединители:
1 — штыревой контакт 2 — гнездовой контакт; 3 — штыревая
втулка; 4 — гнездовая втулка

Рис. 8 Контактный волноводный фланец:
1 — контактная прокладка; 2 — канавки с
уплотнителем; 3 — отверстия
для фиксирующих штифтов
Для
улучшения качества контакта между фланцами на штифтах помещают бронзовую прокладку, имеющую ряд разведенных пружинящих лепестков, прилегающих к внутреннему периметру поперечного сечения соединяемых волноводов (рис. 8). Защита сочленения от пыли и влаги осуществляется
резиновыми уплотнительными кольцами, уложенными в канавках на фланцах по обе стороны от контактной прокладки.
В
дроссельном фланце (рис. 9) контакт между волноводами осуществляется
через последовательный короткозамкнутый шлейф длиной
lВ/2, выполненный в форме канавок и углубления внутри фланца. Четвертьволновой участок между точкой
короткого замыкания А и точкой механического контакта В является
коаксиальным волноводом с волной типа Н11, а второй
четвертьволновый участок между точкой механического контакта В и точкой
включения шлейфа в волновод С является отрезком радиальной линии
передачи. Точка механического контакта попадает в узел распределения
поверхностного тока J и поэтому на сопротивлении контакта rк не происходит
заметного выделения мощности. Виртуальное короткое замыкание между
сочленяемыми волноводами в точке С обеспечивается тем, что суммарная
длина дроссельных канавок от точки А до
точки С составляет lв/2. Для защиты полости тракта от внешних воздействий применяют уплотнительную прокладку,
укладываемую в добавочную концентрическую канавку.

Рис. 9 Дроссельный
волноводный фланец: a — эскиз;
б — схема замещения
Дроссельные фланцы не критичны к
качеству механического контакта
и небольшим перекосам в сочленении, не снижают электрической прочности тракта.
Их недостатками являются зависимость качества согласования от частоты и сложность
конструкции.
4
ПОВОРОТЫ ЛИНИЙ ПЕРЕДАЧИ
Повороты
и изгибы линий передачи относятся к числу нерегулярностей, снижающих
качество согласования и электропрочность трактов
СВЧ. В уголковых изгибах любых линий передачи в той или иной мере возбуждаются поля
нераспространяющихся волн высших типов, которым соответствует определенный запас электромагнитной энергии.

Рис. 10
Поворот линий передачи с компенсацией отражений
Для минимизации возникающих
из-за этого отражений конструкции изгибов дополняют различными согласующими элементами. Например, изгиб на 90°
коаксиального тракта сочетают с
четвертьволновым изолятором и дополняют небольшой проточной на
внутреннем проводнике линии (рис. 10,а). Подбор расположения размеров проточки, а также правильный выбор длины четвертьволнового изолятора позволяют сохранить хорошее согласование
в тракте в широкой полосе частот.
Повороты
в полосковой линии передачи согласовывают с помощью «подрезания» внешних углов примерно на одну треть диагонали,
соединяющей внутренний и внешний углы поворота (рис. 10, б). Однако такие компенсированные повороты вносят
небольшое добавочное запаздывание в линию передачи, которое должно учитываться при расчете электрических длин
резонансных отрезков. Подрезание
углов оказывается эффективным способом уменьшения отражений также в прямоугольных
и круглых волноводах, причем оптимальный размер скоса (рис.10, в) находят
с помощью графиков, имеющихся в справочной литературе. Концентрация силовых
линий поля Е в области резких изгибов снижает электрическую прочность
тракта. Этот недостаток в значительной мере устраняется в двойных поворотах и в
плавных изгибах. В двойных поворотах (рис. 10, г) две нерегулярности
разносят на расстояние l, примерно равное lВ/4. Улучшение
согласования происходит как из-за уменьшения отражений от каждой нерегулярности,
так и из-за взаимной компенсации отражений от них.
Плавные изгибы тракта
могут быть охарактеризованы схемой замещения в виде отрезка линии передачи с
несколько измененным волновым сопротивлением. Для улучшения согласования следует
увеличивать радиус изгиба или выбирать длину изгиба, кратной lВ/2.
5
ПЕРЕХОДЫ МЕЖДУ ЛИНИЯМИ ПЕРЕДАЧИ РАЗЛИЧНЫХ ТИПОВ
Очень распространенными узлами
СВЧ - трактов являются переходы с одной линии передачи на другую, которые также
называют возбудителями волны заданного типа. По схеме замещения переходы являются
взаимными реактивными четырехполюсниками, и в их проектировании основное внимание
уделяется достижению Хорошего
качества согласования входов в полосе частот при обеспечении необходимой электрической
прочности. Рассмотрим ряд характерных
конструкций переходов.
Возбуждение прямоугольного
волновода с волной типа H10 от
коаксиального волновода
с Т-волной производится с помощью коаксиально-волноводных переходов (рис.11).
Основным
элементом таких переходов являются обтекаемые электрическим током
штыри, размещаемые в короткозамкнутом с одной стороны
волноводе параллельно силовым линиям поля Е.
В зондовом переходе (рис.11,
а) согласование входов обеспечивается изменением длины зонда l3, а также подбором расстояний l и х,
определяющих, положение зонда. Для расширения полосы частот согласования желательно увеличивать диаметр зонда d. При тщательном выполнении зондовый переход
обеспечивает полосу частот
согласования 15—20 % относительно расчетной частоты при КБВ³О,95. Недостатком зондового перехода является
снижение электропрочности из-за концентрации силовых линий поля Е на конце зонда. В определенной мере этот недостаток преодолевается в коаксиально-волноводном переходе
с последовательным
шлейфом (рис. 11, б), однако
даже при самом тщательном подборе
расстояний l и lш рабочая относительная полоса частот
составляет ~7%.
Лучшие результаты по согласованию
и электропрочности имеет переход с
поперечным стержнем (рис. 11, в), дополненный
согласующей индуктивной диафрагмой.
В такой конструкции достижима относительная полоса частот согласования
~15%. Максимальных
широкополосности (~20% при КБВ³0,95) и электропрочности достигают в коаксиально-волноводных переходах так называемого «пуговичного» типа (рис. 11, г), требующих,
однако, тщательного экспериментального подбора формы проводников в
сочетании с дополнительной настройкой качества согласования с помощью
индуктивной диафрагмы.

Рис. 11
Коаксиально-волноводные переходы:
а
— зондовый; б — с коаксиальным шлейфом; в — с поперечным
стержнем; г—пуговичный
Применение
коаксиально-волноводных переходов для возбуждения волны Е10 в
круглом волноводе показано на рис. 12 на примере вращающёгося сочленения.

Рис. 12 Волноводное вращающееся сочленение с
волной типа Е01
Короткие
отрезки коаксиального волновода с Т-волной
обеспечивают фильтрацию волн высших
типов и устраняют возможность возбуждения в круглом волноводе паразитной
аксиально-несимметричной волны Н11 (эта волна более низкого типа, чем волна E01).
Соединение вращающихся частей круглого
волновода осуществляют с помощью коаксиального дросселя длиной lо/2, аналогичного дросселям вращающегося коаксиального
сочленения на рис. 7.10.
Возбуждение волны низшего типа Н11 в круглом волноводе
возможно с помощью плавного перехода от прямоугольного волновода с постепенной деформацией формы поперечного
сечения от прямоугольной к круглой (рис. 13, а).

Рис. 13
Соосные переходы от прямоугольного волновода с волной Н01 к
круглому волноводу с волной Н11
Если
длина такого перехода превышает длину волны, то отражения в широкой
полосе частот оказываются незначительными. В
более компактном узкополосном переходе, показанном на рис. 13, б, сочленение
соосных прямоугольного и круглого волноводов
осуществляется через согласующую
четвертьволновую вставку с овальной формой поперечного сечения.
Возбуждение
волны Н11 в круглом волноводе может также производиться
через отверстие в его боковой стенке от прямоугольного волновода. Если широкие стенки прямоугольного волновода ориентированы параллельно оси круглого волновода
(рис. 14, а),то в круглом волноводе возбуждаются волны Н11, распространяющиеся в обе
стороны от ответвления с одинаковыми фазами. При поперечном расположении возбуждающей щели в круглом волноводе (рис. 14, 6) волны,
возбуждающиеся справа и слева от
нее, противофазны. Если требуется обеспечить передачу волны Н11 в одном направлении, то один из концов круглого
волновода закорачивают, причем в случае разветвления, показанного на
рис. 14, а, расстояние между центром щели и короткозамыкателем должно быть
близким к lв/4, а в случае, показанном на рис. 14, б,— близким к lо/2.

Рис. 14
Тройниковые разветвления прямоугольного и круглого волноводов
Рассмотрим теперь
некоторые компактные способы возбуждения осесимметричной
волны Е01 в круглом волноводе от прямоугольного волновода
с волной Н10, не использующие промежуточных
коаксиально-волноводных переходов.

Рис. 15 Способы возбуждения волны Е01 в круглом волноводе
В устройстве, показанном на рис.
15, а, прямоугольный волновод соединяется с круглым через поперечное
отверстие. Для лучшего возбуждения волны Е01
круглый волновод с одной стороны закорачивается на расстоянии lвЕ01/2 от возбуждающего отверстия. Для
подавления паразитной волны низшего типа Н11, которая также возбуждается отверстием, в
короткозамкнутом отрезке круглого волновода располагают тонкое металлическое
кольцо. Периметр кольца выбирают близким к lо,
чтобы волна Н11 возбуждала
в нем резонансные колебания с одной вариацией тока по периметру.
Это резонансное кольцо действует на волну Н11 подобно короткозамыкателю. Располагая кольцо
на расстоянии lвН11/4 от центра щели, удается эффективно подавить
колебания волны Н11 в
круглом волноводе. На волну типа Е01,
силовые линии поля Е которой перпендикулярны проводнику кольца,
резонансное кольцо практически не влияет;
Другой возбудитель волны Е01 в круглом волноводе с
высокой степенью подавления паразитной волны Н11
показан на рис. 15,б. Прямоугольный волновод сочленяется с круглым так же, как
в предыдущей конструкции с коротким замыканием одной половины круглого
волновода непосредственно у места сочленения. Кроме того, в круглом волноводе
помещено резонансное кольцо, закорачивающее его для волны Н11. Волна Н11, просочившаяся через
резонансное кольцо, испытывает поглощение, возбуждая через продольные щели в стенках круглого волновода
коаксиальный резонатор с колебаниями типа Н01.
В пучности поля Е этого резонатора помещено кольцо из поглотителя, в котором
и происходит выделение энергии волны Н11.
Волна Е01 не имеет поперечных токов на стенках круглого волновода и
поэтому не возбуждает продольные щели и
резонатор с поглотителем.
Особенно трудной задачей является
конструирование возбудителей волны Н01 в круглом волноводе. Здесь
главное требование состоит в обеспечении высокой степени чистоты возбуждения
волны Н01 при
глубоком подавлении целого ряда низших и высших типов волн, способных к
распространению в круглом волноводе большого диаметра.

Рис. 16
Плавный переход для возбуждения волны Н01 в круглом
волноводе
На рис. 16 показана одна из
возможных конструкций перехода от прямоугольного волновода с волной Н10
к круглому волноводу с волной Н01 основанная на принципе плавной
деформации формы поперечного сечения волновода и структуры электрического
поля. Волноводный Е - тройник и две продольные скрутки на углы в 90° в
противоположных направлениях образуют систему двух прямоугольных волноводов,
соединенных узкими стенками и содержащих поля равной амплитуды с противоположными
фазами. Затем эта система плавно преобразуется к двум секторным волноводам с
общим ребром. Постепенное увеличение угла раскрыва секторных волноводов
образует круглый волновод с продольной металлической перегородкой. Обрыв этой
перегородки не изменяет структуры электромагнитного поля, и на выходе перехода
получается круглый волновод с волной H01.
Для обеспечения надлежащей чистоты возбуждения волны H01
этот переход должен иметь достаточно
большую длину.
Определенные
трудности, связанные с достижением хорошего качества согласования в широкой
полосе частот, возникают также при выполнении переходов от полосковых линий передачи к коаксиальным и прямоугольным волноводам.
Коаксиально-полосковые переходы в зависимости от взаимного расположения соединяемых проводников могут быть соосными или перпендикулярными
(рис. 17).

Рис. 17
Коаксиально-полосковые переходы
Для уменьшения иррегулярности в области сочленения диаметр
внешнего проводника коаксиального волновода должен быть близким к
расстоянию между внешними пластинами симметричной полосковой линии или к удвоенной толщине основания несимметричной полосковой линии. Для улучшения согласования в
соосном переходе делают скосы на конце полоскового
проводника (рис. 17, а). Согласование
перпендикулярного коаксиально-полоскового перехода (рис. 17, б) осуществляют подбором диаметра соединительного штыря, проходящего через диэлектрическое
основание, а также подбором размеров
коаксиальной диафрагмы на выходе из коаксиального
волновода и короткого разомкнутого шлейфа из отрезка полоскового проводника.
Часто коаксиально-полосковые переходы совмещают с коаксиальными соединителями.
Устройства
для возбуждения полосковой линии передачи от прямоугольного волновода с волной Н10 называются волноводно-полосковыми
переходами. Соединение полосковой линии с прямоугольным волноводом может быть
выполнено через плавный или
ступенчатый переход на П-образном волноводе (рис. 18, а).

Рис. 18
Волноводно-полосковые переходы
В
такой конструкции перехода обеспечивается широкополосное согласование
прямоугольного волновода с полосковой линией передачи я устраняется паразитное
излучение из открытого конца волновода.
Волноводно-полосковый переход
другого типа, в котором используется часть волновода в качестве корпуса для
полоскового узла, показан на рис. 18, б. Этот переход выполнен на диэлектрической
пластине, установленной продольно в средней плоскости прямоугольного
волновода, параллельно силовым линиям поля Е. С двух сторон
диэлектрической пластины напечатаны проводники, имеющие контакт один с
верхней, а другой с нижней стенками волновода, и образующие плавный переход к
симметричной полосковой линии. Далее на той же диэлектрической пластине
располагается несимметричная полосковая линия, возбуждаемая от ленточной линии
через симметрирующее устройство в виде двух четвертьволновых щелей в экране.
Экран несимметричной полосковой линии замыкает широкие стенки прямоугольного
волновода, что препятствует проникновению волны Н10 в область
волновода с полосковым узлом.
Библиографический список
1) Сазонов
Д.М., Гридин А.Н., Мишустин Б.А.. Устройства СВЧ.- М: Высшая школа, 1981
2) С.А.
Баранов, М.П. Наймушин. Исследование полоснопропускающих волноводных фильтров
СВЧ и методов узкополосного согласования в волноводных трактах; - Методические
указания к лабораторной работе по курсу «Антенны и устройства СВЧ».- Свердловск
1987
|